单晶硅微差压变送器YR-ER101用于测量小于1kPa的液体、气体或蒸汽的液位、密度、压力及流量,输出4-20mA+HART电流信号。微差压变送器测量范围(未迁移时)最小为100Pa,最大为1000Pa,精度0.1%,高稳定性、极低温度漂移和长寿命是本产品核心技术亮点。
单晶硅微差压变送器特点
1、极高稳定性、可靠性和极低温度漂移,微差压变送器零点、精和重复性度多年不变,长期运行免维护
微差压变送器在国际上久负盛名的是罗斯蒙特。在匀速管差压式流量计和锅炉炉膛负压测量中如果选用的微差压变送器稳定性差、零点漂移大,将造成很大计量误差
2、单晶硅微差压变送器用采用瑞士原装ROCKSENSOR压力传感器和电路生产,精度为±0.1%
3、专利双过载保护膜片设计,单向过压最高可达10MPa
4、单晶硅微差压变送器优异的静压性能,远非同场合电容式产品所能媲比,静压误差最优可控制在:
◆ 静压传感器选0时:SPAN A=±(0.5%URL+0.1%SPAN)/10MPa
◆ 静压传感器选1时:SPAN A=±(0.025%URL+0.05%SPAN)/10MPa
5、单晶硅微差压变送器最高10:1的量程比调节
6、单晶硅微差压变送器电磁兼容性(EMC)符合GB/T 18268.1-2008
7、三种报警电流输出模式用户可选择
8、微差压变送器可自由编程组态,总线标准4-20mA+HART输出

单晶硅微差压变送器性能规格
◆ 单晶硅微差压变送器YR-ER101调量程的参考精度(包括从零点开始的线性、回差和重复性)
YR-ER101-C系列:±0.1%
若TD>2.5(TD=最大量程÷调节量程),则YR-ER101-C精度:±(0.04×TD)%
◆ 环境温度影响
①0.1%精度YR-ER101-C系列在-20~+65℃时总影响量为±(0.15×TD+0.05)%×Span;每10℃之间±0.08%×Span(TD=1时)
②0.1%精度YR-ER101-C系列在-40~-20℃和65℃-85℃时总影响量为:±(0.2×TD+0.05)%×Span
◆ 过范围影响: ±0.1%×Span
◆ 静压影响:
静压传感器选0时:SPAN A=±(0.5%URL+0.1%SPAN)/10MPa
静压传感器选1时:SPAN A=±(0.025%URL+0.05%SPAN)/10MPa
◆ 稳定性:单晶硅微差压变送器稳定性为±0.25%URL/10年
◆ 电源影响:±0.001%/10V(12-42VDC),可忽略不计
单晶硅微差压变送器功能规格
◆ 量程和范围

◆ 量程限:在量程的上下限范围内,可以任意调整。建议选择量程比尽可能低的量程代码,以优化性能特征
◆ 零点设置:零点和量程可以调节到上面表中测量范围内的任何值,只要:标定量程≥最小量程
◆ 安装位置影响:与YR-ER101-C单晶硅微差压变送器膜片面平行方向的安装位置变化不会造成零漂影响,若安装位置与膜片面超过90°的变化,会发生<0.4kPa范围内的零位影响,可以通过调节调零校正。无量程影响
◆ 输出
①二线制,4-20mA+HART输出,数字通讯,可选择线性或平方根输出,HART协议加载在4-20mADC信号上;
②输出信号极限:Imin=3.9mA,Imax=20.5mA
◆ 报警电流
①低报模式(最小):3.7mA;
②高报模式(最大):21mA;
③不报模式(保持):保持故障前的有效电流值;
④报警电流标准设置:高报模式
◆ 响应时间
①放大器部件阻尼常数为0.1s;传感器时间常数为0.1-1.6s,取决于量程及量程比。附加的可调时间常数为:0.1-60s
②对非线性输出(如平方根)的影响取决于该功能,并可据此计算
◆ 预热时间:<15s
◆ 环境温度:-40~+85℃;带液晶显示、氟橡胶密封圈时-40~+65℃
◆ 储存温度/运输温度:-50~+85℃;带液晶显示时-40~+85℃
◆ 工作压力(硅油):额定工作压力分为0.2MPa和7MPa两挡
◆ 静压极限:从3.5kPa绝对压力至额定压力,保护压力可大于额定压力的1.5倍,同时加于单晶硅微差压变送器两侧
◆ 单向过载极限:单向过载可达额定压力
◆ 防爆性能:NEPSI隔爆许可:ExdⅡCT6;NEPSI本安许可:ExiaⅡCT4;允许使用温度为-40~+65℃
◆ 电磁兼容性(EMC)

单晶硅微差压变送器安装
◆ 电源及负载条件
电源电压为DC24V,R≤(Us-12)/Imax kΩ,其中Imax=23mA
最大电源电压:36VDC
最小电源电压:9VDC(低电压版),13.5VDC(背光LCD液晶显示、OLED显示)
数字通讯负载范围:250-600Ω
◆ 电气连接:M20×1.5电缆密封扣,接线端子适用于0.5-2.5mm2的导线
◆ 过程连接:过程连接法兰的两端面有NPT1/4和UNF7/16"内螺纹
单晶硅微差压变送器物理规格
◆ 材质:
测量膜盒:不锈钢316L
膜片:不锈钢316L、哈氏合金C、不锈钢316L镀金
◆ 过程法兰:不锈钢316
◆ 螺母及螺栓:不锈钢(A4)
◆ 过程连接:不锈钢316
◆ 填充液:硅油、氟油
◆ 密封圈:丁晴橡胶(NBR)、氟橡胶(FKM)、聚四氟乙烯(PTFE)
◆ 差压变送器外壳:铝合金材质、外表喷涂环氧树脂
◆ 外壳密封圈:丁晴橡胶(NBR)
◆ 铭牌:不锈钢304
◆ 单晶硅微差压变送器重量:3.3kg(无液晶显示、安装支架、过程连接)
◆ 外壳防护等级:IP67
单晶硅微差压变送器电气连接图

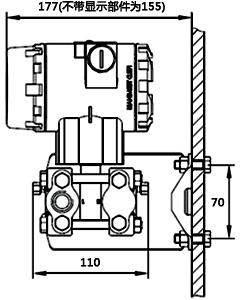
单晶硅微差压变送器外形尺寸
◆平配管连接形式(正面)

◆水平配管连接形式(侧面)

◆墙面连接形式

◆垂直配管连接形式

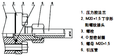
压力变送器过程法兰接头
●1/2NPT不锈钢椭圆形法兰(代码1)

●M20×1.5不锈钢丁字型接头(代码2)

单晶硅微差压变送器选型表
YR-ER101-①②③④⑤⑥⑦⑧⑨⑩⑪⑫⑬⑭⑮-⑯
①精度
[C]:0.1%精度单晶硅微差压变送器
②单晶硅微差压变送器量程代码
[A]:0-100Pa~1kPa(0-10~100mmH2O)
③静压传感器
[0]:无
[1]:40MPa(仅适用于7MPa额定工作压力)
④膜片材质/填充液
[A]:不锈钢316L/硅油
[B]:不锈钢316L/氟油
[C]:哈氏合金C/硅油
[D]:哈氏合金C/氟油
[E]:不锈钢316L镀金/硅油
[F]:不锈钢316L镀金/氟油
⑤工作压力
[0]:额定工作压力0.2MPa
[7]:额定工作压力7MPa
⑥过程连接|泄放阀
[N]:1/4英寸NPT及7/16英寸UNF螺纹孔|无泄放阀
[B]:1/4英寸NPT及7/16英寸UNF螺纹孔|泄放阀装于法兰后部端面
[U]:1/4英寸NPT及7/16英寸UNF螺纹孔|泄放阀装于法兰侧面上部
[D]:1/4英寸NPT及7/16英寸UNF螺纹孔|泄放阀装于法兰侧面下部
⑦接液密封材料
[N]:丁晴橡胶(NBR)
[F]:氟橡胶(FKM)
[P]:聚四氟乙烯(PTFE)
⑧特殊功能
[N]:无
[F]:平方根输出
[O]:禁油处理(氧气测量限氟油填充液,氟橡胶密封圈、<6MPa、<60℃)
[P]:防雷击功能
[X]:定制功能
⑨安装支架
[N]:无
[1]:不锈钢
[2]:镀锌碳钢(标准配置)
⑩过程连接附件
[N]:无
[1]:1/2英寸NPT内螺纹不锈钢椭圆形法兰
[2]:M20×1.5外螺纹不锈钢丁字形接头
⑪液晶显示
[N]:无显示表头
[2]:LCD背光液晶显示(-20℃)
[3]:OLED显示(-40℃)
⑫防爆选项
[N]:基本型
[A]:本安型,NEPSI
[D]:隔爆型,NEPSI
[B]:本安型,ATEX
[E]:隔爆型,ATEX
⑬位号标牌
[N]:无
[1]:位号位于铭牌内
[2]:悬挂式不锈钢位号标牌
⑭说明书
[C]:微差压变送器出厂时配中文说明书
[E]:微差压变送器出厂时配英文说明书
⑮壳体选项
[N]:铝合金壳体,电气接口M20×1.5
[S]:不锈钢316壳体,电气接口M20×1.5
[T]:铝合金壳体,电气接口NPT1/2(无电缆引入装置及盲堵)
⑯附加可选项
[V]:低电压版
[1]:第三方检测报告(5点检测)
[2]:第三方检测报告(9点检测)
[M]:RS485-Modbus RTU通讯协议
[P]:Profibus PA通讯协议
单晶硅微差压变送器选型举例
YR-ER101-CA0A0BNF112N1CN
[C]:基本误差±0.1%
[A]:量程为0-100Pa~1kPa(0-10~100mmH2O)
[0]:静压传感器无
[A]:接液部分为不锈钢316L膜片,填充液为硅油
[0]:额定工作压力为0.2MPa
[B]:1/4英寸NPT的过程连接接口,7/16英寸UNF螺纹安装孔,泄放阀装于法兰后部端面
[N]:接液密封圈为丁腈橡胶(NBR)
[F]:平方根输出
[1]:不锈钢安装支架
[1]:配1/2 英寸NPT内螺纹不锈钢椭圆形法兰
[2]:LCD背光液晶显示
[N]:基本型(非防爆变送器)
[1]:位号标于铭牌内
[C]:中文使用说明书
[N]:铝合金壳体,电气接口M20×1.5
对于微差压变送器选型,建议大家看看两篇文章,对您选到适合的微差压变送器很有帮助
◆微差压变送器选型应注意的问题(专家方原柏文章)
◆用微差压变送器测量炉膛负压,如何选用炉膛负压变送器
