fkswng单法兰液位变送器采用瑞士原装ROCKSENSOR压力传感器和电路生产,用于敞口容器的液位测量。单法兰液位变送器的膜盒是用于防止管道内介质直接进入差压变送器的压力传感器组件中,它与变送器之间采用硅油等填充液传递压力。
YR-ER101单法兰液位变送器,用于测量液体、气体或蒸汽的液位、密度、压力以及流量,然后将其转变成4-20mA+HART电流信号输出。并提供HART/Profibus PA/RS485等通讯协议。
YR-ER101液位变送器的测量范围(未迁移时)为0-1kPa-3MPa。液位法兰的额定压力分别为:1.6/4MPa、6.4MPa、10MPa、150psi、300psi或600psi。
技术优势
◆fkswng单法兰液位变送器中心传感单元采用来自瑞士的全球领先的高精度硅技术,铂金级±0.05%
◆双过载保护膜片设计,单法兰液位变送器单向过压最高可达满量程的1166倍
◆领先世界的微小量程表压变送器抗过载性能
◆单法兰液位变送器温度性能最优在±0.04%/10K内,温度影响变化极小
◆单法兰液位变送器最高100:1的量程比调节,适应性更广
◆单法兰液位变送器EMC符合GB/T18268.1-2010
工作原理与结构
YR-ER101单法兰液位变送器结构上由YR-ER101系列差压变送器和经焊接安装的液位法兰组成。其工作原理与YR-ER101系列差压变送器相同(参见YR-ER101系列差压变送器技术规格书),只是正压侧压力传递路径略有不同:作用在高压侧的压力,首先经液位法兰上的膜片和填充液,再经变送器本体,最后到达测量传感器的高压侧。
输入
1、测量参数
差压、液位
2、测量范围
下限值:-100%URL起(连续可调)
上限值:至+100%URL(连续可调)
3、量程
①表1 单法兰液位变送器量程代码与量程范围关系对照表

②表2 单法兰液位变送器液位法兰与最小量程关系对照表

单法兰液位变送器的最小量程应为表1和表2中最小量程的较大值。调节的量程不得小于最小量程。液位变送器的最大量程应为变送器本体最大量程与液位法兰额定压力两者的最小值。
输出
1、输出信号
2线制,4-20mA+HART输出,数字通讯,HART协议加载在4-20mADC信号上
输出信号极限:Imin=3.9mA,Imax=20.5mA
2、报警电流(模式可设置)
低报模式(最小):3.6mA
高报模式(最大):21mA
不报模式(保持):保持故障前的有效电流值
报警电流标准设置:高报模式
3、响应时间
单法兰液位变送器的放大器部件阻尼常数为0.1s;传感器时间常数为0.1m-1.6s,取决于多参数差压变送器量程及量程比。附加的可调时间常数为0.1-60s。对非线性输出(如平方根功能)的影响取决于该功能,并可据此计算
一般条件
1、单法兰液位变送器安装条件
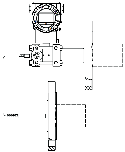
通过液位法兰变送器可直接固定于任何位置。最佳状态是使过程法兰轴处于垂直状态,位置偏差将产生可校正的零位偏移。电子表壳最大可旋转360°,定位螺钉可将其固定于任何位置
2、环境条件
①环境温度
最低:取决于填充液
最高:85℃
带液晶显示、氟橡胶密封圈时-20~65℃
②储存温度/运输温度
最低:取决于填充液
最高:85℃
③相对湿度
0~100%
④抗冲击
加速度:50g
持续时间:11ms
⑤抗震动
2g至500Hz
3、过程介质极限
①介质温度极限
-30~180℃
②单法兰液位变送器本体压力极限
从3.5kPa绝对压力至额定压力,保护压力可大于额定压力的1.5倍,同时加于单法兰液位变送器两侧
③液位法兰额定压力
ANSI标准:150psi~600psi
DIN标准:PN1.6MPa-PN10MPa
④单法兰液位变送器单向过载极限
低压侧为变送器本体额定压力,高压侧为液位法兰额定压力,可能出现可修正的零点漂移
⑤防爆性能
⑥电磁兼容

⑦单法兰液位变送器重量
DN50/2"的单法兰液位变送器约7~10kg;DN80/3"的单法兰液位变送器约8~11kg;DN4"约9~12kg
单法兰液位变送器安装
1、电源及负载条件
电源电压为24V
R≤(Us-12V)/Imax kΩ
其中 Imax=23 mA
最大电源电压:36VDC
最小电源电压:9VDC(低电压版),13.5VDC(背光LCD液晶显示、OLED显示)
数字通讯负载范围:230-600Ω
2、电气连接
M20×1.5或NPT1/2内螺纹,标配M20×1.5尼龙电缆密封扣,接线端子适用于0.5~2.5mm2导线
3、过程连接
液位变送器低压侧有NPT1/4和UNF7/16"内螺纹。变送器高压侧的液位法兰符合ANSI标准或DIN标准。可直接安装,参照表3
表3 液位法兰结构尺寸表

4、外壳防护等级
IP67
物理特性
测量膜盒:不锈钢 316L
膜片:不锈钢316L、哈氏合金C、钽膜片、PFA、PTFE覆膜
过程法兰:不锈钢304
填充液:硅油、植物油
密封圈:丁腈橡胶(NBR)、氟橡胶(FKM)、聚四氟乙烯(PTFE)
变送器外壳:铝合金材质、外表喷涂环氧树脂;不锈钢外壳可选
外壳密封圈:丁腈橡胶(NBR)
铭牌:不锈钢304
单法兰液位变送器外形尺寸


液位变送器低压端过程连接
1、1/2NPT不锈钢椭圆形法兰(代码1)

2、M20×1.5不锈钢丁字型接头(代码2)

单法兰液位变送器电气连接

关于单法兰液位变送器的零点迁移
1、单法兰液位变送器不迁移场景
单法兰液位变送器,只能用于敞口容器的液位测量。
当单法兰液位变送器PT与下法兰A位于同一高度时:

◆仪表量程:△P=ρ×g×H0
◆零液位时:实际液位H=0,压力变送器压力P=0
◆满液位时:实际液位H=H0,压力变送器压力P=ρ×g×H0,故单法兰液位变送器的量程为0~ρ×g×H0
◆当单法兰液位变送器PT与下法兰A位于同一高度时,订货量程为△P=ρ×g×H0的单法兰液位变送器量程不需要迁移。
2、单法兰液位变送器正迁移场景
单法兰液位变送器,只能用于敞口容器的液位测量。
当可变化的液位高于单法兰液位变送器PT安装高度时:

◆仪表订货量程:△P=0~ρ×g×H0
◆零液位时:实际变化液位H0=0,单法兰液位变送器压力P=ρ×g×H1
◆满液位时:实际液位H=H0+H1,压力变送器压力P=ρ×g×H0+ρ×g×H1,故正迁移后单法兰液位变送器的量程为ρ×g×H1至ρ×g×H0+ρ×g×H1
◆当可变化的最低液位高于单法兰液位变送器PT安装高度时,订货量程为△P=0~ρ×g×H0,单法兰液位变送器需要正迁移ρ×g×H1。正迁移后单法兰液位变送器4-20mA输出信号对应的是可变化液位的高度(ρ×g×H0),而不是敞口容器实际液位高度。假如用户需要显示敞口容器实际液位高度,则需要在液位显示仪表或DCS上加上不变化的液位高度(ρ×g×H1),即实际液位高度=ρ×g×H0+ρ×g×H1
单法兰液位变送器选型表[1]
单法兰液位变送器完整型号包含本体选型、液位变送器法兰部分选型和液位变送器参考侧法兰部分选型(可选项)三个部分,下面详细介绍:
1、液位变送器的本体选型
YR-ER101-①②④⑤⑥⑦⑧⑨⑪⑭⑮-⑯
①精度
[B]:基本误差±0.075%
[C]:基本误差±0.1%
②量程
[B]:0-2kPa~6kPa(0-200~600mmH2O)/(0-20~60mbar)
[C]:0-4kPa~40kPa(0-400~4000mmH2O)/(0-40~400mbar)
[D]:0-2.5kPa~250kPa(0-0.25~25mH2O)/(0-25~2500mbar)
[F]:0-30kPa~3MPa(0-3~300mH2O)/(0-0.3~30bar)
③静压传感器
[0]:无
④膜片材质/填充液
[A]:不锈钢316L/硅油
⑤额定工作压力
[1]:16MPa
⑥负腔过程连接
[LN]:1/4英寸NPT及7/16英寸UNF螺纹孔,无泄放阀
[LB]:1/4英寸NPT及7/16英寸UNF螺纹孔,泄放阀装于法兰后部端面
[LB]:1/4英寸NPT及7/16英寸UNF螺纹孔,泄放阀装于法兰侧面上部
[LD]:1/4英寸NPT及7/16英寸UNF螺纹孔,泄放阀装于法兰侧面下部
[LR]:7/16英寸UNF螺纹孔,正压测液位法兰,负压侧远传法兰
⑦负腔接液密封材质
[N]:丁腈橡胶(NBR)
[F]:氟橡胶(FKM)
[P]:聚四氟乙烯(PTFE)
⑧特殊功能
[F]:平方根输出
[P]:聚四氟乙烯(PTFE)
[X]:特殊定制
⑨安装支架
[N]:无
⑩负腔过程连接附件
[N]:无
[1]:1/2英寸NPT内螺纹不锈钢椭圆形法兰
[2]:M20×1.5外螺纹不锈钢丁字形接头
⑪液晶显示
[N]:无显示
[2]:LCD背光液晶显示(-20℃)
[3]:OLED显示(-40℃)
⑫防爆选项
[N]:基本型
[A]:本安型,NEPSI
[D]:隔爆型,NEPSI
[B]:本安型,ATEX
[E]:隔爆型,ATEX
⑬位号标牌
[N]:无
[1]:位号位于铭牌内
[2]:悬挂式不锈钢位号标牌
⑭使用说明书
[C]:单法兰液位变送器配中文说明书
[E]:单法兰液位变送器配英文说明书
⑮壳体选项
[N]:铝合金壳体,电气接口M20×1.5
[T]:铝合金壳体,电气接口NPT1/2(无电缆引入装置及盲堵)
[S]:不锈钢316壳体,电气接口M20×1.5
⑯附加可选择(-)
[V]:低电压版
[1]:第三方检测报告(5点检测)
[2]:第三方检测报告(9点检测)
[M]:RS485-Modbus RTU通讯协议
[P]:Profibus PA通讯协议
2、液位变送器法兰部分选型
液位变送器法兰部分①-②③④⑤⑥
①接液密封装置
[LT]:液位法兰,无毛细管⊕侧
②过程连接|标称直径|密封面形式|膜片/密封面材质
[A]:DN50 DIN 2501/HG20592|RF型 DN2526|不锈钢316L
[B]:DN50 DIN 2501/HG20592|RF型 DN2526|哈氏合金C
[C]:DN50 DIN 2501/HG20592|RF型 DN2526|钽(温度≤200℃)
[H]:DN80 DIN 2501/HG20592|RF型 DN2526|不锈钢316L
[I]:DN80 DIN 2501/HG20592|RF型 DN2526|哈氏合金C
[G]:DN80 DIN 2501/HG20592|RF型 DN2526|钽(温度≤200℃)
[R]:DN100 DIN 2501/HG20592|RF型 DN2526|不锈钢316L
[S]:DN100 DIN 2501/HG20592|RF型 DN2526|哈氏合金C
[T]:DN100 DIN 2501/HG20592|RF型 DN2526|钽(温度≤200℃)
[D]:DN2″ANSI B 16.5/HG20615|RF型 ANSI B 16.5|不锈钢316L
[E]:DN2″ANSI B 16.5/HG20615|RF型 ANSI B 16.5|哈氏合金C
[F]:DN2″ANSI B 16.5/HG20615|RF型 ANSI B 16.5|钽(温度≤200℃)
[K]:DN3″ANSI B 16.5/HG20615|RF型 ANSI B 16.5|不锈钢316L
[L]:DN3″ANSI B 16.5/HG20615|RF型 ANSI B 16.5|哈氏合金C
[M]:DN3″ANSI B 16.5/HG20615|RF型 ANSI B 16.5|钽(温度≤200℃)
[N]:DN4″ANSI B 16.5/HG20615|RF型 ANSI B 16.5|钽(温度≤200℃)
[O]:DN4″ANSI B 16.5/HG20615|RF型 ANSI B 16.5|哈氏合金C
[P]:DN4″ANSI B 16.5/HG20615|RF型 ANSI B 16.5|钽(温度≤200℃)
③额定压力|压力等级|法兰压力标准|法兰材质
[1]:PN1MPa/4MPa(DN50,DN80选)|DIN 2501/HG20592|不锈钢304
[2]:PN6.4MPa(DN50,DN80选)|DIN 2501/HG20592|不锈钢304
[3]:PN10MPa(DN50,DN80选)|DIN 2501/HG20592|不锈钢304
[6]:Class150(DN2",DN3"选)|ANSI B 16.5/HG20615|不锈钢304
[7]:Class300(DN2",DN3"选)|ANSI B 16.5/HG20615|不锈钢304
[8]:Class600(DN2",DN3"选)|ANSI B 16.5/HG20615(不包括DN4″ANSI B 16.5)|不锈钢304
[4]:PN1MPa/1.6MPa(DN100选)|DIN 2501/HG20592|不锈钢304
[5]:PN2.5MPa/4MPa(DN100选)|DIN 2501/HG20592|不锈钢304
[9]:Class150(DN4"选)|ANSI B 16.5/HG20615|不锈钢304
[0]:Class300(DN4"选)|ANSI B 16.5/HG20615|不锈钢304
[A]:PN1MPa/4MPa(DN50,DN80选)|DIN 2501/HG20592|不锈钢316
[B]:PN6.4MPa(DN50,DN80选)|DIN 2501/HG20592|不锈钢316
[C]:PN10MPa(DN50,DN80选)|DIN 2501/HG20592|不锈钢316
[F]:Class150(DN2",DN3"选)|ANSI B 16.5/HG20615|不锈钢316
[G]:Class300(DN2",DN3"选)|ANSI B 16.5/HG20615|不锈钢316
[H]:Class600(DN2",DN3"选)|ANSI B 16.5/HG20615(不包括 DN4″ANSI B 16.5)|不锈钢316
[D]:PN1MPa/1.6MPa(DN100选)|DIN 2501/HG20592|不锈钢316
[E]:PN2.5MPa/4MPa(DN100选)|DIN 2501/HG20592|不锈钢316
[I]:Class150(DN4"选)|ANSI B 16.5/HG20615|不锈钢316
[J]:Class300(DN4"选)|ANSI B 16.5/HG20615|不锈钢316
④连接形式
[F]:扁平式
[H]:插入式,接液膜片不锈钢316L/插入长度50mm/筒体材质不锈钢316
[I]:插入式,接液膜片不锈钢316L/插入长度150mm/筒体材质不锈钢316
[G]:插入式,接液膜片哈氏合金C/插入长度150mm/筒体材质不锈钢316
[L]:插入式,接液膜片哈氏合金C/插入长度50mm/筒体材质不锈钢316
[M]:插入式,接液膜片哈氏合金C/插入长度100mm/筒体材质不锈钢316
[N]:插入式,接液膜片哈氏合金C/插入长度150mm/筒体材质不锈钢316
⑤填充液
[S]:硅油/-30~200℃
[V]:植物油/0~250℃
[F]:氟油/-30~260℃
⑥接液法兰膜盒面形式(可多选)
[NN]:无(温度≤260℃)
[22]:DN50/2″上涂PFA(过氟烷基化物)(温度≤260℃)
[23]:DN80/3″上涂PFA(过氟烷基化物)(温度≤260℃)
[24]:DN100/4″上涂PFA(过氟烷基化物)(温度≤260℃)
[32]:DN50/2″膜片贴PTFE膜(聚四氟乙烯膜)[2](温度≤200℃)
[33]:DN80/3″膜片贴PTFE膜(聚四氟乙烯膜)[2](温度≤200℃)
[34]:DN100/4″膜片贴PTFE膜(聚四氟乙烯膜)[2](温度≤200℃)
[52]:DN50/2″316L上涂PFA(过氟烷基化物)(温度≤260℃)(插入深度50mm)
[53]:DN80/3″316L上涂PFA(过氟烷基化物)(温度≤260℃)(插入深度50mm)
[54]:DN100/4″316L上涂PFA(过氟烷基化物)(温度≤260℃)(插入深度50mm)
[55]:DN50/2″316L上涂PFA(过氟烷基化物)(温度≤260℃)(插入深度100mm)
[56]:DN80/3″316L上涂PFA(过氟烷基化物)(温度≤260℃)(插入深度100mm)
[57]:DN100/4″316L上涂PFA(过氟烷基化物)(温度≤260℃)(插入深度100mm)
[58]:DN50/2″316L上涂PFA(过氟烷基化物)(温度≤260℃)(插入深度150mm)
[59]:DN80/3″316L上涂PFA(过氟烷基化物)(温度≤260℃)(插入深度150mm)
[60]:DN100/4″316L上涂PFA(过氟烷基化物)(温度≤260℃)(插入深度150mm)
[06]:防真空处理[3](温度≥120℃,工作压力≤50kPa abs.)
[72]:DN50/2″316L上镀金
[73]:DN80/3″316L上镀金
[74]:DN100/4″316L上镀金
[08]:禁油处理
3、液位变送器参考侧法兰部分选型(可选项)
液位变送器参考侧法兰①-②③④⑤⑦⑧
①接液密封装置
[RL]:带毛细管低压侧
②过程连接|标称直径|密封面形式|膜片/密封面材质
[A]:DN50 DIN 2501/HG20592|RF型 DN2526|不锈钢316L
[B]:DN50 DIN 2501/HG20592|RF型 DN2526|哈氏合金C
[C]:DN50 DIN 2501/HG20592|RF型 DN2526|钽(温度≤200℃)
[H]:DN80 DIN 2501/HG20592|RF型 DN2526|不锈钢316L
[I]:DN80 DIN 2501/HG20592|RF型 DN2526|哈氏合金C
[G]:DN80 DIN 2501/HG20592|RF型 DN2526|钽(温度≤200℃)
[R]:DN100 DIN 2501/HG20592|RF型 DN2526|不锈钢316L
[S]:DN100 DIN 2501/HG20592|RF型 DN2526|哈氏合金C
[T]:DN100 DIN 2501/HG20592|RF型 DN2526|钽(温度≤200℃)
[D]:DN2″ANSI B 16.5/HG20615|RF型 ANSI B 16.5|不锈钢316L
[E]:DN2″ANSI B 16.5/HG20615|RF型 ANSI B 16.5|哈氏合金C
[F]:DN2″ANSI B 16.5/HG20615|RF型 ANSI B 16.5|钽(温度≤200℃)
[K]:DN3″ANSI B 16.5/HG20615|RF型 ANSI B 16.5|不锈钢316L
[L]:DN3″ANSI B 16.5/HG20615|RF型 ANSI B 16.5|哈氏合金C
[M]:DN3″ANSI B 16.5/HG20615|RF型 ANSI B 16.5|钽(温度≤200℃)
[N]:DN4″ANSI B 16.5/HG20615|RF型 ANSI B 16.5|钽(温度≤200℃)
[O]:DN4″ANSI B 16.5/HG20615|RF型 ANSI B 16.5|哈氏合金C
[P]:DN4″ANSI B 16.5/HG20615|RF型 ANSI B 16.5|钽(温度≤200℃)
③额定压力|压力等级|法兰压力标准|法兰材质
[1]:PN1MPa/4MPa(DN50,DN80选)|DIN 2501/HG20592|不锈钢304
[2]:PN6.4MPa(DN50,DN80选)|DIN 2501/HG20592|不锈钢304
[3]:PN10MPa(DN50,DN80选)|DIN 2501/HG20592|不锈钢304
[6]:Class150(DN2",DN3"选)|ANSI B 16.5/HG20615|不锈钢304
[7]:Class300(DN2",DN3"选)|ANSI B 16.5/HG20615|不锈钢304
[8]:Class600(DN2",DN3"选)|ANSI B 16.5/HG20615(不包括DN4″ANSI B 16.5)|不锈钢304
[4]:PN1MPa/1.6MPa(DN100选)|DIN 2501/HG20592|不锈钢304
[5]:PN2.5MPa/4MPa(DN100选)|DIN 2501/HG20592|不锈钢304
[9]:Class150(DN4"选)|ANSI B 16.5/HG20615|不锈钢304
[0]:Class300(DN4"选)|ANSI B 16.5/HG20615|不锈钢304
[A]:PN1MPa/4MPa(DN50,DN80选)|DIN 2501/HG20592|不锈钢316
[B]:PN6.4MPa(DN50,DN80选)|DIN 2501/HG20592|不锈钢316
[C]:PN10MPa(DN50,DN80选)|DIN 2501/HG20592|不锈钢316
[F]:Class150(DN2",DN3"选)|ANSI B 16.5/HG20615|不锈钢316
[G]:Class300(DN2",DN3"选)|ANSI B 16.5/HG20615|不锈钢316
[H]:Class600(DN2",DN3"选)|ANSI B 16.5/HG20615(不包括 DN4″ANSI B 16.5)|不锈钢316
[D]:PN1MPa/1.6MPa(DN100选)|DIN 2501/HG20592|不锈钢316
[E]:PN2.5MPa/4MPa(DN100选)|DIN 2501/HG20592|不锈钢316
[I]:Class150(DN4"选)|ANSI B 16.5/HG20615|不锈钢316
[J]:Class300(DN4"选)|ANSI B 16.5/HG20615|不锈钢316
④连接形式
[F]:扁平式
[H]:插入式,接液膜片不锈钢316L/插入长度50mm/筒体材质不锈钢316
[I]:插入式,接液膜片不锈钢316L/插入长度150mm/筒体材质不锈钢316
[G]:插入式,接液膜片哈氏合金C/插入长度150mm/筒体材质不锈钢316
[L]:插入式,接液膜片哈氏合金C/插入长度50mm/筒体材质不锈钢316
[M]:插入式,接液膜片哈氏合金C/插入长度100mm/筒体材质不锈钢316
[N]:插入式,接液膜片哈氏合金C/插入长度150mm/筒体材质不锈钢316
⑤填充液
[S]:硅油/-30~200℃
[H]:高温硅油/-10~350℃
[L]:超低温填充液/-100~100℃
[V]:植物油/0~250℃
[F]:氟油/-30~260℃
⑥毛细管长度|毛细管材质
[01]:1m/不锈钢304
[02]:2m/不锈钢304
[03]:3m/不锈钢304
[04]:4m/不锈钢304
[05]:5m/不锈钢304
[06]:6m/不锈钢304
[07]:7m/不锈钢304
[08]:8m/不锈钢304
[09]:9m/不锈钢304
[10]:10m/不锈钢304
[51]:1m/不锈钢316
[52]:2m/不锈钢316
[53]:3m/不锈钢316
[54]:4m/不锈钢316
[55]:5m/不锈钢316
[56]:6m/不锈钢316
[57]:7m/不锈钢316
[58]:8m/不锈钢316
[59]:9m/不锈钢316
[60]:10m/不锈钢316
⑦毛细管部件特性
[N]:无
[P]:带PVC保护层毛细管
⑧接液法兰膜盒面形式(可多选)
[NN]:无(温度≤260℃)
[22]:DN50/2″上涂PFA(过氟烷基化物)(温度≤260℃)
[23]:DN80/3″上涂PFA(过氟烷基化物)(温度≤260℃)
[24]:DN100/4″上涂PFA(过氟烷基化物)(温度≤260℃)
[32]:DN50/2″膜片贴PTFE膜(聚四氟乙烯膜)[2](温度≤200℃)
[33]:DN80/3″膜片贴PTFE膜(聚四氟乙烯膜)[2](温度≤200℃)
[34]:DN100/4″膜片贴PTFE膜(聚四氟乙烯膜)[2](温度≤200℃)
[52]:DN50/2″316L上涂PFA(过氟烷基化物)(温度≤260℃)(插入深度50mm)
[53]:DN80/3″316L上涂PFA(过氟烷基化物)(温度≤260℃)(插入深度50mm)
[54]:DN100/4″316L上涂PFA(过氟烷基化物)(温度≤260℃)(插入深度50mm)
[55]:DN50/2″316L上涂PFA(过氟烷基化物)(温度≤260℃)(插入深度100mm)
[56]:DN80/3″316L上涂PFA(过氟烷基化物)(温度≤260℃)(插入深度100mm)
[57]:DN100/4″316L上涂PFA(过氟烷基化物)(温度≤260℃)(插入深度100mm)
[58]:DN50/2″316L上涂PFA(过氟烷基化物)(温度≤260℃)(插入深度150mm)
[59]:DN80/3″316L上涂PFA(过氟烷基化物)(温度≤260℃)(插入深度150mm)
[60]:DN100/4″316L上涂PFA(过氟烷基化物)(温度≤260℃)(插入深度150mm)
[06]:防真空处理[3](温度≥120℃,工作压力≤50kPa abs.)
[72]:DN50/2″316L上镀金
[73]:DN80/3″316L上镀金
[74]:DN100/4″316L上镀金
[08]:禁油处理
单法兰液位变送器选型举例
例:YR-ER101-BC0A1LNNNNN2N1CN[5],LT-H1FSNN
[B]:基本误差±0.075%
[C]:量程为0-4kPa~40kPa(0-40~4000mmH2O)/(0-40~400mbar)
[0]:无静压传感器
[A]:接液部分为不锈钢 316L 膜片,填充液为硅油
[1]:额定工作压力为16MPa
[LN]:1/4英寸NPT的过程连接接口,7/16英寸UNF螺纹安装孔,泄放阀装于法兰后部端面
[N]:接液密封圈为丁腈橡胶(NBR)
[N]:特殊功能无
[N]:安装支架无
[N]:负腔过程连接附件无
[2]:LCD背光液晶显示
[N]:基本型(非防爆变送器)
[1]:位号标于铭牌内
[C]:中文使用说明书
[N]:铝合金壳体,电气接口M20×1.5
-----------------
[LT-]:高压侧接液密封装置为液位法兰(无毛细管)
[H]:DN80(DIN 2501)法兰口径,RF型DN2526 密封面形式,不锈钢316L膜片
[1]:PN1MPa/4MPa(DIN 2501)法兰压力等级
[F]:接液面为扁平式膜盒
[S]:填充液为硅油
[NN]:接液法兰膜盒面无特殊处理
注1:在对液位密封装置选型时,应先完成YR-ER101差压变送器本体部分的选型;
注2:单法兰液位变送器膜片贴PTFE膜,即F膜片,可适用于大于绝对压力50kPa的负压测量,但只适用于扁平式液位法兰
注3:当单法兰液位变送器测量压力或工作静压<50kPa(绝对压力),应在⑥项选择选项06,以保证性能;
注4:当测量压力或工作静压<50kPa(绝对压力)时,应在⑧项选择选项06,以保证性能;
注5:液位变送器的最小量程应为表1和表2中最小量程的较大值。调节的量程不得小于最小量程;为了使单法兰液位变送器性能最优,应选择量程比<10:1。
