关于“过负荷保护不断电、只报警”的规定,不同标准有不同要求,主要有以下几个标准规定:
◆《建筑电气及智能化通用规范》GB55024-2022,第4.3.1条,对于因过负荷引起断电而造成更大损失的供电回路,过负荷保护应作用于信号报警,不应切断电源。
◆《民用建筑电气设计标准》GB51348-2019,第7.6.3条,对于突然断电比过负荷造成损失更大的线路,不应设置过负荷保护。
◆《低压配电设计规范》GB50054-2011,第6.3.6条,过负荷断电将引起严重后果的线路,其过负荷保护不应切断线路,可作用于信号。
过负荷保护不断电时报警实现方法主要有以下几种:
1、利用断路器
这类产品主要为国产品牌,由于国产品牌对市场反应比较快,根据我国相关设计标准做出相应的产品研发。例如,常熟开关早在2007年就申请了“一种具有热过载报警功能的塑壳断路器”专利,并在CM3等多个产品上应用。当然,智能断路器可以实现这个功能!
2、利用CPS
CPS主要用于保护电动机,因此对于需要只报警不断电的电动机控制回路可以采用这类产品,以满足标准的规定。这类产品包括中凯的KB0、江苏远泰、泰永长征、常熟开关等企业。
3、利用热继电器
对于电动机回路采用此方法没有问题,但对于配电回路是没有办法的办法,现在已有其他解决方案,因此配电回路不建议采用此方案。
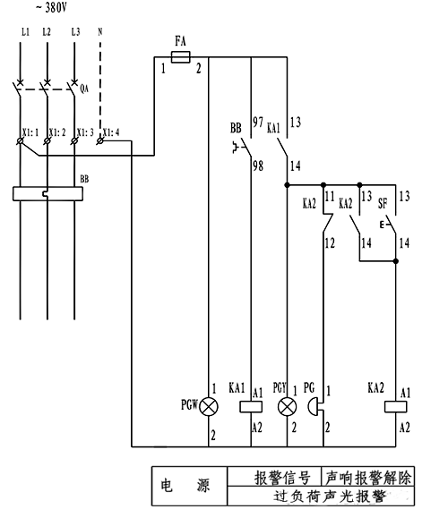
只有瞬动保护的断路器与热继电器组合,热继电器只报警。

4、利用多功能电力仪表
多功能电力仪表具有电流测量功能,当发生过负荷时,由其干接点提供报警信号。采用瞬动保护的断路器与多功能仪表组合。
5、利用专用的保护装置
这类专用装置是从多功能仪表发展而来,工程应用不是很普遍,但可以作为一个方法。

只有瞬动保护的断路器与专用的过负荷保护装置组合,过负荷保护装置只报警
综上所述,过负荷保护不断电时报警有多种实现方式,用户可根据需要合理选择使用适宜的方法。
作者:李炳华
