霍尼韦尔VDPC系列动态压差平衡阀主要用于中央空调水系统,通常与静态平衡阀配套使用,通过调试可以实现中央空调水系统的全面水力平衡。
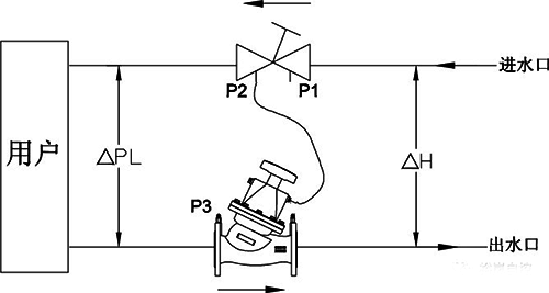
霍尼韦尔VDPC动态压差平衡阀的安装示意图:

注意:霍尼韦尔VDPC系列动态压差平衡阀通常安装在回水管上,并注意设置正确的水流方向。
霍尼韦尔VDPC动态压差平衡阀调试方法

1、连接导压管①,如安装示意图所示,一端接在VDPC动态压差平衡阀上,另一端通过三通测量头②接在静态平衡阀上,此时系统应处于低压状态。
2、先打开排气孔的堵头⑤,再打开三通测量头②,管路通水,直至阀腔体内的空气全部排出后,将排气孔堵头⑤锁紧。
3、测量P2,P3两端压差,即ΔPL,如安装示意图所示。
4、设定压差ΔPL,调节手轮③设定压差值。
