fkswng仪表本文对差压式流量计、电磁流量计、涡街流量计、超声波流量计、文丘里管、阿牛巴流量计、皮托管这其中常见流量计工作原理及在流量测量中的应用做简单介绍,增长大家流量计方面知识。
1、差压式流量计
差压式流量计是应用非常广泛的一类流量测量仪表,约占流量测量仪表总数的70%。它由节流装置和差压变送器两部分组成,充满圆管的流体流经节流件(如孔板)时,流束在孔板处形成局部收缩,由于流速增加、静压力降低而在孔板前后产生压差,这一压差与流量的平方成正比。
孔板流量计又称为差压式流量计,由一次检测件(节流件)和二次装置(差压变送器和流量积算仪)组成,应用于气体、蒸汽和液体的流量测量。具有结构简单、维修方便、性能稳定、使用可靠等特点。孔板节流装置是标准节流件,可不需标定直接依照下列国家标准生产。
①国家标准GB 2624-2006流量测量节流装置的设计安装和使用。
②国际标准IS0 5167国际标准组织规定的各种节流装置。
③化工部标准GJ 516-87G-HK06。
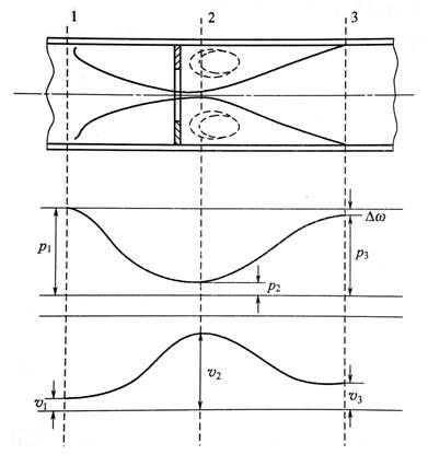
充满管道的流体流经管道内的节流装置,在节流件附近造成局部收缩,流速增加,在其上、下游两侧产生静压力差(见图1)。

图1 流体流经节流器件时压力和流速的变化情况
在已知有关参数的条件下,根据流动连续性原理和伯努利方程可以推导出压差与流量之间的关系而求得流量。
式中,P为流量节流装置前后的压差,q为瞬时流量。由于流体的性质所决定,节流装置测得的压差与流量的关系是平方及平方根的关系。目前,应用较广的几种典型的流量测量设备有电磁流量计、涡街流量计、超声波流量计等,以下分别介绍。
2、电磁流量计
电磁流量计(E1etromagnetic Flowmeters,简称EMF)是20世纪50-60年代随着电子技术的发展而迅速发展起来的新型流量测量仪表。电磁流量计是根据法拉第电磁感应定律制成的,电磁流量计是用来测量导电液体体积流量的仪表。由于其独特的优点,电磁流量计目前已广泛地被应用于工业过程中各种导电液体的流量测量,如各种酸、碱、盐等腐蚀性介质;电磁流量计各种浆液流量测量,形成了独特的应用领域。
在结构上,电磁流量计由电磁流量传感器和转换器两部分组成。传感器安装在工业过程管道上,它的作用是将流进管道内的液体体积流量值线性地变换成感应电势信号,并通过传输线将此信号送到转换器。转换器安装在离传感器不太远的地方,它将传感器送来的流量信号进行放大,并转换成与流量信号成正比的标准电信号输出,以进行显示、累积和调节控制。

图2 电磁流量计测量基本原理
电磁流量计测量原理是基于法拉第电磁感应定律。流量计的测量管是内衬绝缘材料的非导磁合金短管。两只电极沿管径方向穿通管壁固定在测量管上。其电极头与衬里内表面基本齐平。励磁线圈由双方波脉冲励磁时,将在与测量管轴线垂直的方向上产生一磁通量密度为B的工作磁场。此时,如果具有一定电导率的流体流经测量管,将切割磁力线感应出电动势E。电动势E正比于磁通量密度B、测量管内径d与平均流速U的乘积。电动势E(流量信号)由电极检出并通过电缆送至转换器。转换器将流量信号放大处理后,可显示流体流量,并能输出脉冲,模拟电流等信号,用于流量的控制和调节。
E=KBdu ,式中E-电极间的信号电压,V;K为系数;B为磁通密度,T;d为测量管内径,m;u为平均流速,m/s;式中,K、d为常数,由于励磁电流是恒流的,故B也是常数,则由E=KBdu可知,体积流量Q与信号电压E成正比,即流速感应的信号电压E与体积流量Q成线性关系。因此,只要测量出E,就可确定流量Q,这是电磁流量计的基本工作原理。
由E=KBdu可知,被测流量体介质的温度、密度、压力、电导率、液固两相流体介质的液固成分比等参数不会影响测量结果。至于流动状态只要符合轴对称流动(如层流或者紊流)就不会影响测量结果。因此,电磁流量计是一种真正的体积流量计。对于制造商和用户来说,只要用普通的水实际标定后就可以测量其他任何导电流体介质的体积流量,而不需要任何修正。这是电磁流量计的一个突出优点,是其他任何流量计所没有的。测量管内无活动及阻流部件,因此几乎没有压力损失,并且需要说明的是,必须使测量条件满足下列假定:
①场是均匀分布的恒定磁场;
②被测流体的流速轴对称分布;
③被测液体是非磁性的;
④被测液体的电导率均匀且各向同性。

图3 模块化电磁流量计
在我国电磁流量计生产厂家很多,经过几十年的技术模仿和创新,国产电流流量计品质得到大幅度提升,有厂家已经推出了品质高和更人性化功能的“模块化电磁流量计”,在此对这类产品仅做简单介绍。
YR-DC11智能电磁流量计是国内首款模块化设计、带视窗、在线更换核心部件、长度可调和故障自诊断的全智能型流量计,六大核心专利技术,与其他厂家生产的传统模拟或智能电磁流量计有非常大的区别,尤其在测量精度可靠性、稳定性、可以修改流量计量程、使用功能和使用寿命等方面。电磁流量计设计了带背光宽温的中文液晶显示器,功能齐全实用、显示直观、操作使用方便。
模块化电磁流量计的特点:
1、一体、分体两用式,随意选择;
2、流体状态可视,不再猜测(流量计内的介质是否满管,通过视窗可见,一目了然)
3、长度自由调节,极大适应现场(可以直接替代国内外任何厂家产品,不用更改现场管道长度);
4、在线带压可拆,便于维护(使用者可以在线更换流量计电极等部件,故障产品不用返厂,不耽误生产);
5、模块化设计,售后零等待(输入更换部件的参数,流量计CPU自动调试到出厂状态);
6、进一步智能,提供可靠保障(流量计带故障自诊断,方便用户直观判断故障所在部位和故障原因);

图4 带视窗电磁流量计
电磁流量计选型参阅本站 //www.fkswng.com/product/176.html 产品页面。
3、涡街流量计
涡街流量计是在流体中安放一根(或多根)非流线形阻流体(bluffbody),流体在阻流体两侧交替地分离释放出两串规则的旋涡,在一定的流量范围内旋涡分离频率正比于管道内的平均流速,通过采用各种形式的检测元件测出旋涡频率,就可以推算出流体的流量。
应该看到,涡街流量计尚属发展中的流量计,无论其理论基础或实践经验尚较差。至今最基本的流量方程经常引用卡曼涡街理论,而此理论及其一些定量关系是卡曼在气体风洞(均匀流场)中实验得出的,它与封闭管道中具有三维不均匀流场旋涡分离的规律是不一样的。至于实践经验更是需要通过长期应用才能积累。一般流量计出厂校验是在实验室参考条件下进行的,在现场偏离这些条件不可避免。工作条件的偏离到底会带来多大的附加误差至今在标准及生产厂资料中尚不明确。这些都说明流量计的迅速发展需要基础研究工作必须跟上,否则在实用中经常会出现一些预料不到的问题。
涡街流量计原理:在流体中设置旋涡发生体(阻流体),从旋涡发生体两侧交替地产生有规则的旋涡,这种旋涡称为卡曼涡街(见图5),旋涡列在旋涡发生体下游非对称地排列。

图5 涡街流量计原理

管道内体积流量qv为:

式中K为流量计的仪表系数,单位为脉冲数/m3。K除了与旋涡发生体、管道的几何尺寸有关外,还与斯特劳哈尔数有关。斯特劳哈尔数为无量纲参数,它与旋涡发生体形状及雷诺数有关,图6所示为圆柱状旋涡发生体的斯特劳哈尔数与管道雷诺数的关系图。

图6 斯特劳尔数与雷诺数关系曲线
由图6可见,在Re=2×104~7×105的范围内,Sr可视为常数,这是仪表正常工作范围。当测量气体流量时,涡街流量计的流量计算式为:

式中qvm为标准状态下(0℃或20℃,101.325kPa)体积流量;Pn为标准状态下绝对压力;P工况下的绝对压力;Tn标准状态下热力学温度;T为工况下气体压缩系数;Z为工况下气体压缩系数。
涡街流量计输出的脉冲频率信号不受流体物性和组分变化的影响,及仪表系数在一定雷诺系数范围内仅与旋涡发生体及管道的形状尺寸等有关。但是在物料平衡及能源计量中需检测质量流量,这时流量计应同时检测体积流量和流体密度,流体物性和组分就会对流量计量产生直接影响。

图7 智能涡街流量计
涡街流量计由传感器和转换器两部分组成,如图7所示。传感器包括旋涡发生体、检测元件、仪表表体等,转换器包括前置放大器、滤波整形电路、DAC、输出接口电路、端子、支架和防护罩等。近年来智能式流量计还把微处理器、显示通信及其他功能模块装在转换器内。
涡街流量计选型参阅 //www.fkswng.com/product/175.html
4、超声波流量计
超声波在流动的流体中传播时就载上流体流速的信息、因此通过接收到的超声波就可以检测出流体的流速,从而换算成流量。根据检测的方式,可分为传播速度差法、多普勒法、波束偏移法、噪声法及,相关法等不同类型的超声波流量计。超声波流量计是近十几年来随着集成电路技术迅速发展才开始应用的一种非接触式仪表,适于测量不易接触和观察的流体以及大管径流量。它与水位计联动可进行敞开水流的流量测量。使用超声波流量计不用在流体中安装测量元件,故不会改变流体的流动状态、不产生附加阻力,仪表的安装及检修均可不影响生产管线运行,因而是一种理想的节能型流量计。
目前的工业流量测量普遍存在着大管径、大流量测量困难的问题,这是因为一般流量计随着测量管径的增大会引来制造和运输困难、造价提高、能损加大、安装不便等缺点,超声波流量计可避免这些缺点。因为各类超声波流量计均可管外安装、非接触测流,仪表造价基本上与被测管道口径大小无关,而其他类型的流量计随着口径增加,造价大幅度增加。
超声波流量计被认为是较好的大管径流量测量仪表,多普勒法超声波流量计可测双相介质的流量,故可用于下水道及排污水等脏污流的测量。在发电厂中,用便携式超声波流量计测量水轮机进水量、汽轮机循环水量等大管径流量,比过去的皮托管流速计方便得多。超声波流量计也可用于气体测量。管径的适用范围从2cm到5m,从几米宽的明渠、暗渠到500m宽的河流都可适用。
5、文丘里管
文丘里管(见图8)是新一代差压式流量测量仪表,其基本测量原理与标准孔板相同,是以能量守恒定律-伯努利方程和流动连续性方程为基础的流量测量方法。内文丘里管由一圆形测量管和置入测量管内并与测量管同轴的特型芯体所构成。特型芯体的径向外表面具有与经典文丘里管内表面相似的几何廓形,并与测量管内表面之间构成一个异径环形过流缝隙。流体流经内文丘里管的节流过程同流体流经经典文丘里管、环形孔板的节流过程基本相似。内文丘里管的这种结构特点,使之在使用过程中不存在类似孔板节流件的锐缘磨蚀与积污问题,并能对节流前管内流体速度分布梯度及可能存在的各种非轴对称速度分布进行有效的流动调整(整流),从而实现了高精确度与高稳定性的流量测量。

图8 文丘里管
文丘里管按结构分为内藏式文丘里管和插入式文丘里管。在钢铁厂热风炉的助燃风、冷风、煤气计量(高炉煤气、焦炉煤气、转炉煤气)及热电厂的锅炉一次风、二次风大管径、低流速管道计测量中收到了良好的效果。解决了现行工业企业中低压、大管径、低流速各类气体流量的精确测量,是一种测量范围宽、安装方便的流体测量装置。
文丘里管测量原理:当充满管道的流体流经管道内的节流件时,将在文丘里管喉颈处形成局部收缩,因而流速增加,静压力降低,于是在文丘里管喉颈前后便产生了压差。流体流量愈大,产生的压差愈大,这样可依据压差来衡量流量的大小。这种测量方法是以流动连续性方程(质量守恒定律)和伯努利方程(能量守恒定律)为基础的。

式中qm为质量流量(kg/s);qv为体积流量(m3/s);C为流出系数;ε为可膨胀性系数;d为节流件开孔直径;β为直径比,β=d/D;D为管道内径;ρ1为被测流体密度,kg/m的;△P为差压。
6、阿牛巴流量计
阿牛巴流量计(又称笛形均速管流量计和托巴管流量计)属于差压式流量计。是采用皮托管测量原理测量挡体上游的动压力与下游的静压力之间形成的压差,从而达到测量流量的目的。测量管道直径在DN20到DN12000之间。阿牛巴流量计主要用于工业过程中各种能源如液体、燃料气、蒸汽和气体的测量,具有较高的稳定性和重复性。阿牛巴流量计设计理论符合伯努利方程,并可用JG 640-90规程进行检验。
测量原理当流体流过探头时,在其前部产生一个高压分布区,高压分布区的压力略高于管道的静压。根据伯努利方程,流体流过探头时速度加快,在探头后部产生一个低压分布区,低压分布区的压力略低于管道的静压。流体从探头流过后在探头后部产生部分真空,并在探头的两侧出现旋涡。均速流量探头的截面形状、表面粗糙状况和低压取压孔的位置是决定探头性能的关键因素。低压信号的稳定和准确对均速探头的精度和性能起决定性作用。阿牛巴均速流量探头能精确地检测到由流体的平均速度所产生的平均差压。阿牛巴均速流量探头在高、低压区有按一定准则排布的多对取压孔,使准确测量平均流速成为可能。


图9 阿牛巴
现在阿牛巴流量计所需要的参数被测量的介质,被测量介质的温度,被测量介质的压力,被测量介质的流量,被测量介质的黏度。
阿牛巴流量计输出为差压信号,与测量差压的仪器仪表配套使用,可以准确地测量圆形管道、矩形管道中的多种液体、气体和蒸汽(过热蒸汽和饱和蒸汽)。被测管道的尺寸范围为Ф20-3000mm。阿牛巴流量计在动力工业(包括核工业)、化学工业、石油化工和金属冶炼工业等部门中得到成功使用,适用范围如下。
a、气体输送和液体输送。
b、能源研究,蒸汽锅炉热效率,水泵效率,气体压缩机效率和燃料消耗。
c、过程控制输入输出、比率/平衡;冷却水或空气蒸汽加热。
d、化学工业中加料。
e、负载平衡泵、压缩机、冷却器、过滤器。
阿牛巴流量计与差压流量计相比有如下优点。
a、准确度高,稳定性好
阿牛巴流量计的准确度为±1%,稳定性为±0.1%,它能够保持长期输出非常稳定的差压信号,保证输出差压信号与管道流量的映射关系。这是因为在使用过程中的磨损、腐蚀以及粘附的油污灰尘等因素对阿牛巴流量计系数影响不大,但这些因素使孔板的流量系数增大,而且会增加到20%以上,由此产生的误差将也达到20%以上。从中我们可以看出阿牛巴流量计的准确度是长期稳定的。
b、设计合理,安装方便、经济
阿牛巴流量计重量轻,安装拆卸方便,无需起重工具,产品系列中有的可以在被测管道不断流-不停车的情况下进行安装或拆卸,可以节省可观的安装费用。例如在直径200mm的管道上安装流量计,阿牛巴流量计只有一条长150mm的焊缝,而孔板有2条共长1200mm长的焊缝。就工时来讲,安装一只阿牛巴流量计只需要1.5工时,而安装一只孔板却需12工时。
c、有利于管道布局
阿牛巴流量计不仅适用于圆形管道,也适用于矩形管道及埋设在地面以下任何深度的管道。阿牛巴流量计上下游直管段的长度要求比孔板低得多,当安装在弯头后面距离2倍管径处,仍然可以得到稳定的、很高的准确度,这是阿牛巴流量计的独特优点,给管道尤其是大直径管道的布局设计带来了很大的灵活性,节省了费用。
d、压力损失小,能源损耗少
永久压力损失是动力损耗,阿牛巴流量计的永久压力损失仅占差压的2%-15%,而一般孔板的永久损失却要占差压的40%-80%,随着管径的增大,阿牛巴流量计永久压损可忽略不计。例如,在直径1000mm的管道上使用阿牛巴流量计,一年的能量损耗只有几百元,当使用孔板时,一年的能量损耗高达2万余元,这对当今大力节约能源来说是很有意义的。
7、皮托管
皮托管,又名“空速管”、“风速管”,英文是Pitot Tube。皮托管是测量气流总压和静压以确定气流速度的一种管状装置,由法国H.皮托发明而得名。严格地说,皮托管仅测量气流总压,又名总压管;同时测量总压、静压的才称风速管,但习惯上多把风速管称作皮托管。
①皮托管的构造
头部为半球形,后为一双层套管。测速时头部对准来流,头部中心处小孔(总压孔)感受来流总压P0:经内管传送至压力计。头部后3-8D处的外套管壁上均匀地开有一排孔(静压孔),感受来流静压P,经外套管也传至压力计。对于不可压缩流动,根据伯努利方程和能量方程可求出气流马赫数,进而再求速度。但在超声速流动中,皮托管头部出现离体激波,总压孔感受的是波后总压,来流静压也难以测准,因而皮托管不再适用。总压孔有一定面积,它所感受的是驻点附近的平均压强,略低于总压,静压孔感受的静压也有一定误差,其他如制造、安装也会有误差,故测算流速时应加一个修正系数ξ。ξ值一般在0.98-1.05范围内,在已知速度之气流中校正或经标准皮托管校正而确定。皮托管结构简单,使用方便,用途很广。如飞机头部或机翼前缘常装设皮托管,测量相对空气的飞行速度,又称空速管。
②皮托管的用途
皮托管除了用来测量飞机速度,同时还兼具其他多种功能。在科研、生产、教学、环境保护以及隧道、矿井通风、能源管理部门,常用皮托管测量通风管道、工业管道、炉窑烟道内的气流速度,经过换算来确定流量,也可测量管道内的水流速度。用皮托管测速和确定流量,有可靠的理论根据,使用方便、准确,是一种经典的广泛的测量方法。此外,它还可用来测量流体的压力。
8、流量实际应用中的一些技巧
①流量累积
在实际应用当中经常需要知道气体或液体的累积流量,流量累积就是在特定时间内,通过某一截面的液体流量的总和,这个很好理解。但是计算机控制系统和流量积算仪怎么样实现这个功能呢?我们知道系统有个指标是采样周期,就是说计算机从现场多久采回一个数值。一般系统软件对这个数值是可以自己定义的,比如是500ms,那么,首先我们把瞬时流量Lt/h转换成以t/s为单位的计量,然后使用积分算法来求出流量累积,积分时间设为500ms就可以了,也就是说每500ms把采集到的瞬时流量L累积起来。
②小信号切除
在实际工程应用中,由于生产条件的不同,比如在设备运行的初始阶段,可能管道内有少量的水在流动,导致瞬时流量不为零,但是我们不需要记录这些数据,那就需要在累积计算的时候自动除去这样的数值,这就是小信号切除,比如流量大于某个设定值时,累积计算才开始进行,这个设定值就需要根据经验和工艺来设定。大概的逻辑如:下当瞬时流量大于小流量a时,加法器的使能端有效,否则加法器不运算。
③累积清零
算法由于计算机存在溢出的问题,因此,这个累积值不能无限制地增加下去,因此我们在特定的时间内就需要把它清零,再重新累积,这样我们就可以加入自动清零或者手动清零的功能来完善累积算法。自动清零可以以每天、每星期或者每月为周期,在逻辑控制上增加当前时间的判断就可以了。
上面所述的这些功能现在全部集成与流量积算仪内,流量积算仪参数及功能可参阅 //www.fkswng.com/product/999.html。

图10 智能流量积算仪
推荐阅读
过程控制用流量仪表的要求
各行业流量计选型要求及流量测量特点
