例如空调设备,电梯,机床,输送带等电力拖动场合。电力拖动是指用电力(通常是电动机)拖动负载。据统计,全球总电量一半左右都是被电机消耗,并且越发达地区电机消耗电量比例越高。
但是当三相异步电动机长时间未使用,或三相异步电动机运行出现异常情况时,机械问题比较好发现,但是有些在内部的电气问题,我们很难发现,需要借助测量仪表快速判断电机绕组的好坏。现场工作中对三相异步电机好坏的判断,分别需要判断电机三相绕组的电阻是否平衡测量,还要判断电机的绝缘是否良好。判断完后电机绕组没有问题,机械方面也没有问题,电机就能正常使用。电能质量分析仪今天重点介绍如何快速判断电机绕组好坏的方法。
三相绕组阻值测量
首先可以使用万用表测量三相定子绕组的电阻是否平衡。测量方法,首先将电机绕组的短接片拆除,分别用万用表电阻档测量U1/U2、V1/V2、W1/W2三相绕组的阻值。三相电机每相绕组的阻值一般在零点几欧到几十欧,功率越大的电机,阻值越小,所以这个没有固定值,根据电机的功率不同而不同。正常情况三相阻值都是非常接近或相等。 测量结果三相电阻最大值和最小值与平均值之差,不得超过平均值的±1到2.5%。否则就有绕组损坏的可能。严重情况下将迅速烧坏电机。
绝缘阻值测量说明
电机绝缘阻值测量可分为:电机三相绕组之间的绝缘阻值测量;各绕组对地的绝缘也就是对外壳的绝缘阻值测量。由于是绝缘阻值电阻都非常大,万用表测量电压不够,所以测量绝缘阻值时,需要用兆欧表检查,也叫摇表或者绝缘电阻表。我们应根据被测电动机的额定电压来选择兆欧表的等级。例如500V以下的低压电动机,选用500V的兆欧表。
三相异步电动机由于长时间高温下使用容易绝缘损坏,造成绝缘下降以后,容易造成外壳漏电,绕组与绕组间发生短路,导致漏保或空开频繁动作跳闸。当出现电机的断路器频繁且无规律动作跳闸时,需要测量其绝缘阻值,低压电机绝缘测量结果为使用过的电机应不小于0.5MΩ,新电机不小于1MΩ。方可投入使用,反之则需要进行检修。
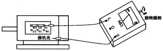
相间绝缘阻值测量
通常电机绕组通过短接片相连在一起,测量相间绝缘阻值时不拆短接片测量值相当于绕组发生短路,必须拆除短接片才能让各绕组分开。需要将兆欧表的红表笔夹U1接线柱上,黑表笔夹在V1接线柱上。然后摇动摇表,摇到频率120转每分钟。大概一分钟左右后读数,此时要边摇边读数。记录下此时的U1和V1相的绝缘阻值。然后按上述操作再分别测试U1/W1;V1/W1的相间绝缘阻值,最后查看它们之间的绝缘阻值是否在正常范围内。

相间对地绝缘阻值测量
相间对地绝缘阻值判断时,分别测量各相绕组和外壳的绝缘阻值,将摇表红表笔夹在U1接线柱上,黑表笔夹在电机外壳。注意外壳要没有油漆,否则测试不准。然后摇动摇表,摇到120转每分钟。摇到大概一分钟左右读数,此时要边摇边读数。接下来依次重复刚才步骤测量V1对外壳;W1对外壳,记录测量的绝缘阻值是否在正常范围内。

相关阅读
◆ 如何用兆欧表测量电机绕组绝缘电阻
◆ 巧用万用表判别电动机三相绕组的首尾端
◆ 电动机三相绕组的星形接线法和三角形接线法
