最小实体要求是当被测要素或基准要素偏离最小实体状态时,形位公差可获得补偿值的一种公差要求。被测要素可以与基准要素同时采用最小实体要求,此时,形位公差可得到来自两方面的补偿值。
最小实体要求既可用于被测要素,也可用于基准要素。当用于被测要素时,应在被测要素形位公差框格中的公差值后标注符号Ⓛ;当用于基准要素时,应在形位公差框格内的基准字母代号后标注符号Ⓛ。
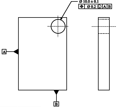
为了更好理解最小实体要求的含义,这里举个例子,如下图一个工装板图纸,基准A和基准B为基准面,孔φ10±0.1为安装通孔,要求通孔在最小实体要求下,相对AB基准的位置度为φ0.2。这时由于通孔φ10±0.1相对边界面非常近导致壁厚较薄,为了满足强度要求,孔的位置和尺寸都必须在一定范围内。假设图纸中理论最小壁厚为2mm,考虑强度要求最薄处壁厚≥1.85mm。

先检查图纸设计是否合理,当孔尺寸最大、位置度最大的时候工装板强度最差。此时,最小壁厚为1.85mm(2-(0.1+0.2)/2),满足要求最小壁厚≥1.85mm的要求,因此图纸设计合理。
假设有一个零件来料检测后,孔尺寸为φ9.95,位置度为φ0.3。如果此时图纸没有最小实体要求,此时,零件是不合格的。但是这里由于对通孔位置度有最小实体要求,此时孔的尺寸偏离最小实体尺寸φ0.15(10.1-9.95),所以此时位置度应为φ0.35(0.15+0.2),检测结果显然符合要求。当然,此时最小壁厚为1.875mm>1.8mm,所以这个零件是满足强度要求的,可以使用。
从这个例子可以看出,由于最小实体要求的应用,上述图纸更符合设计需求,也减少了零件报废,提升了产品合格率,降低了加工成本。
最后小结一下:最小实体要求用于被测要素时,被测要素的实际轮廓应遵守最小实体实效边界(LMVB),被测要素的形位公差值是在该要素处于最小实体尺寸时给定的。当被测要素的实际尺寸偏离其最小实体尺寸时,允许最小实体尺寸下默认给出的中心要素的形位误差值可以增加,即尺寸公差的偏离量可以补偿给形位公差。偏离多少,就可增加多少,这时,被测要素的公差是一个动态值,随着被测要素的尺寸变化而变化,其最大增加量等于被测要素的尺寸公差范围,从而实现尺寸公差向形位公差转化补偿。最小实体要求用于基准中心要素的原理相同,若基准要素的实际轮廓偏离相应的边界,则允许基准要素在一定范围内浮动。
