1、水垢
这是指地下水或自来水中包含的金属离子结晶并粘附在管路内壁后所产生的物体。它们由钙、锰以及钠等元素组成。如果积有太多层的水垢,则管路内的流道会变窄并限制流量。水垢也有可能粘附到流量计内部,对流量计的正常工作产生不利影响。此外对于具有机械部件的流量计,可能会有从积垢上剥落的碎片导致堵塞的情况发生。
使用浮子流量计与桨轮流量计时,可能会发生显示装置无法读数或者运动机构卡住的情况。电磁型流量计几乎不会有问题,但如果流道内壁附有厚厚一层水垢,则流量计可能会无法感测所产生的电压,此时将需要进行维护。
2、淤积物
这是描述流体中存在的悬浮物与沉淀物的一般术语。在生产线上,这通常包括来自磨床的碎屑与磨粒。淤积物随流体一起持续循环,导致流量计堵塞或是造成噪声干扰。对于在管路中有机械部件的流量计,可能会发生轴向磨损与磨蚀,从而降低流量。虽然可以使用滤网或磁力分离器对淤积物进行控制,但彻底去除很难,因此仍需要维护。

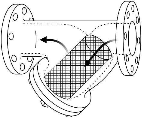
滤网
用于滤除流体中较大颗粒杂质(淤积物)的过滤器。如下图所示,流体通过金属网进行过滤。该过滤器可以拆下并进行清洁。
使用电磁流量计时,流动管道具有自由流动结构,因此不会发生积聚与堵塞。淤积物与“湿”电极碰撞时可能会产生干扰。不过,这些效应可利用具有“非湿”电极的电磁流量传感器加以限制。此外,能够调整响应时间与采样频率的流量传感器更不易受干扰。
3、铁锈
与水垢不同,这是管道内发生氧化时的问题。在流体中添加阻蚀剂可防止生锈,但未使用的管道接触到空气时仍会生锈。水再次流经管道时,铁锈便会剥落成碎片,导致流量计内部发生堵塞,或是粘附到浮子流量计的观察窗上。
铁锈会引起与针对“淤积物”列出的事项相同的基本问题。
4、粘质物
这包括水中的生命物质,如藻类与微生物。它类似于泥巴,有粘性。与水垢一样,它也会在桨轮流量计中产生堵塞与阻碍,并且会使浮子流量计的可见部分模糊不清。

使用电磁流量计时,流动管道具有自由流动结构,因此不会发生积聚与堵塞。此外,由于粘质物物质本身具有导电性,因此仍然能够进行检测。
5、泥浆
泥浆是包含一定量同质固体颗粒的液体总称,包括包含磨料的液体等。个体颗粒可能会造成流量计内部磨损,或是会凝结成块导致堵塞。
管道阻力会造成流量计的轴磨损与堵塞。使用电磁流量计时,流动管道具有自由流动结构,因此磨损与堵塞的程度很小。泥浆在科里奥利流量计(质量流量计)中也可检测。
6、气泡
液体从入口流入时,空气也可能会混入其中,连同混入液体中的杂质形成了气泡,并且会由于温度变化而聚集。在涡街流量计中,气泡会干扰卡门涡流的形成,而在超声波流量计中,超声波的传播会受到抑制,从而导致故障或读数错误。
由于科里奥利流量计测量的是质量流量,因此不受气泡的影响。使用电磁流量计时,流量可能会不稳定。由于检测时利用的液体中包含气泡,因此要减去气泡质量才能得到液体的实际质量。
7、非均匀流速分布
流体流过一段足够长的直管之后,流速在圆形管道内的分布就会稳定。另一方面,弯曲管道或是管道直径变化都会导致流速分布不稳定。不稳定的流速分布有如下两种:偏流,流速分布的中心偏离管道中心;旋流,流体沿着平行于流动方向的轴线边旋转边流动。在这种状态下进行流量测量,可能会导致测量误差变大。

测量误差的程度根据流速分布的不稳定程度而定。在上游安装直管段,使流速分布稳定后进行测量。(粗略地说,直管段的长度应该是流道内径的5倍。)
8、脉动
脉动较大时,瞬时流量可能会在瞬间超出流量计的额定流量。此时,流量计显示的流量小于实际流过管道的流量。容积式往复泵是一种容易有较大脉动的泵。
为减小脉动,可以考虑采用蓄能器等减振器。此外,脉动导致流量计的数值随时间变化时,可通过延长流量计的响应时间来保证数值稳定。
9、管路振动
流体流过管道或发生阀门开闭时,管道本身会发生振动。此外,设备与装置运行时产生的振动可能也会传至管道。
科里奥利流量计与涡街流量计可能会由于振动而无法正确测量流量。而电磁流量计与超声波型流量计基本不会有此问题。(对于超声波型流量计来说,因为超声波的频率与管道振动差异很大,所以可以忽略其影响。)
流量计故障根源专业知识就分享到这里。这些会导致流量计故障的因素对常见的电磁流量计、涡街流量计、浮子流量计、质量流量计、转子流量计、超声波流量计、差压式流量计和热导式流量计都会影响,仪表工在流量测量中选择和使用流量计时需要重点关注。
