
螺纹式温度计套管选型表
①②③④-⑤/⑥-⑦-⑧-⑨/⑩/⑪-⑫/⑬-⑭/⑮-⑯/⑰
①螺纹式温度计套管THERMOWELL
[TH15]:过程连接为固定螺纹+仪表接口为内螺纹,默认
②顶部设计

[H]:六角形,默认
[R]:扳手平面
[M]:圆边六角形
③套管结构形式
[A]:整体钻孔锥形管,默认
[B]:整体钻孔直形管
[C]:整体钻孔缩径式直形管
④内孔变径
[N]:套管内孔为直形盲孔,默认
[R]:直形变径内孔
⑤套管材料
[A]:304SS
[B]:316L,默认
[C]:不锈钢1.4571
[D]:不锈钢1.4404
[E]:C276合金
[F]:Incolo600
[G]:GH3039
[H]:MONEL 400
[X]:特殊材质,协议订货
⑥套管涂层要求
[N]:无涂层,默认
[M]:堆焊或喷涂耐磨层(耐磨)
[F]:套管及法兰密封面整体烧结聚四氟乙烯(防腐,套管材质选316L即可)
[X]:特殊要求,协议订货
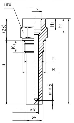
⑦过程连接(图例中的P)

[A]:1/2NPT螺纹,默认
[B]:3/4NPT螺纹
[C]:1"NPT螺纹
[D]:M20×1.5螺纹
[E]:M27×2螺纹
[F]:M33×2螺纹
[G]:G1/2螺纹
[X]:其他
⑧仪表接口(图例中的N)
[A]:1/2NPT内螺纹,默认
[C]:M20×1.5螺纹
[D]:M27×2螺纹
[E]:G1/2螺纹
[X]:其他
⑨颈部高度mm(图例中的H)
[45]:45mm,最小高度,默认
[**]:其他连接可根据要求提供
⑩根部直径mm(图例中的φQ)
[**]:详见参数表1
⑪端部直径mm(图例中的φv)
[**]:详见参数表1
⑫内孔直径mm(图例中的φB)
-------直型孔
[6.6]:内孔6.6mm,用于6.35mm及以下直径的探头,默认
[8.5]:内孔8.5mm,用于8mm及以下直径的探头
[**]:其他连接可根据要求提供
-------直型变径内孔
[**]/[**]/[**]/[**]:大内孔直径/小内孔直径/大内孔深度/小内孔深度
⑬顶部厚度mm(图例中的Tt)
[6.4]:顶部厚度6.4mm,默认
⑭插入长度mm(图例中的U)
[**]:插入长度。注意:插入长度始于过程连接螺纹底部
⑮棒料直径mm(φBd)
[**]:仅TH15M型温度计套管选用
⑯材质证书
[N]:无证书,默认
[M]:原材料材质证书
⑰测试报告要求
[N]:无证书,默认
[PMI]:PMI报告
[LPI]:LPI报告
[XR]:X-ray射线探伤报告
[IHT]:内部水压测试报告
[EHT]:外部水压测试报告
法兰式温度计套管选型//www.fkswng.com/product/132.html
焊接式温度计套管选型//www.fkswng.com/product/4247.html
螺纹式温度计度计套管型号举例(附结构图)


整体钻孔固定螺纹直型管/型号:TH45FBN

整体钻孔固定螺纹直型套管/型号:TH45GBN-⑧(仪表接口为外螺纹)


插入/焊入螺纹温度计套管

法兰式温度计套管THERMOWELL选型表 //www.fkswng.com/product/132.html
