
目前,生物、制药和食品等行业对琉璃流量的测量通常采用浮子流量流量计、孔板流量计、V锥流量计、涡街流量计、电磁流量计和科氏力流量计等流量装置。但基于卫生型行业的特殊要求,这些流量装置在应用中存在一定的局限性,或不能满足卫生级需求或应用成本过高。卫生型多参数质量流量变送器是利用流体通过节流件形成压差的工作原理实现测量,其管道和壳体均采用316L不锈钢材质,内外抛光处理,并且内部节流装置采用无死角设计,从而极大地降低了微生物滋生的风险,达到GMP标准的卫生级要求,可广泛应用于生物、制药和食品等行业。
卫生型多参数质量流量变送器工作原理和结构
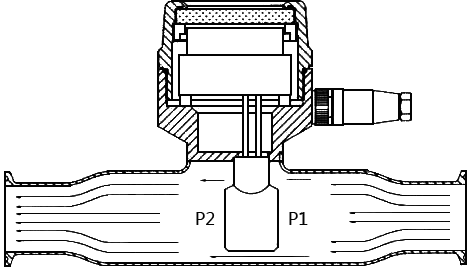
如图所示,卫生型多参数质量流量变送器左侧部分为卫生级不锈钢壳体,右侧部分为电子部件腔体。不锈钢壳体为一个直通式管道,内部采用无缝隙和无死角设计。直通式管道内部表面经过卫生级抛光处理。在直通式管道内设置一个差压传感器膜盒,从而形成节流装置,将差压传感器膜盒的正侧面面向流体的流动方向,差压传感器膜盒的负侧面平行于流体的流动方向。当流体流经这个直通式管道式时,由于管道内部差压传感器膜盒的节流效应,使得差压传感器膜盒的正负側形成压力差。而差压传感器膜盒内部设置有瑞士ROCKSENSOR差压测量芯片、静压测量芯片和温 度测量芯片,使其能够测量获得差压传感器膜盒正负侧的压差信号、管道的静压信号和流体的温度信号。

卫生型多参数质量流量变送器工作原理是当流体流经节流装置时,节流装置内部的差压传感器前后产生压力差(P1-P2),该压力差与流量存在着一定的函数关系,流量越大,压力差就越大。经设置在电子部件腔体内的信号采集处理器经运算后将此压力差信号转换成瞬时流量信号后以4-20mA的标准信号输出,并在显示模块上显示瞬时流量值;同样,差压传感器膜盒内部的静压测量芯片和温度测量芯片,使其能够测量获得管道内流体的压力和温度信号,经设置在电子部件腔体内的信号采集处理器经运算后将管道压力和流体温度以4-20mA的标准信号分别输出,并在显示模块上显示管道压力值和温度值。最终实现“安装一台差压式流量计同时获得流量、压力和温度三种信号”的目的。
而电子部件腔体内的信号采集处理器将获得的瞬时流量信号经流量积算仪计算后,实现流体流量的累计计量,并在显示模块上显示。除了瞬时流量和累计流量的输出外,其差压传感器内部还集成了压力传感器和温度传感器,因此还可以输出管道压力和液体温度信号。
卫生型多参数质量流量变送器性能
1、瑞士RKS原创,中心传感单元采用DP传感器进行流量测量
2、全不锈钢体,卫生无死角设计
3、可附带温度、压力等多参量输出
4、国际通行的多标准过程连接选项可供选择
5、优异的电磁防护性能
6、人性化非接触式的数显操作面板,无须开盖
卫生型多参数质量流量变送器技术参数
1、参考精度
◆流量:±0.3%/±0.5/±1%三种
◆压力:±0.5%
◆温度:±0.3%
2、稳定性:参考精度×Span/3年
3、输出:4-20mA,可加载485通讯或HART数字通讯
4、输出信号极限:I(min)=3.9mA,I(max)=20.5mA
5、电气连接:M16×1.5防水航空插座,接线端子适用于0.5-2.5mm2
6、量程
◆选型代码1:0-0.1~1t/h;
◆选型代码2:0-0.2~1t/h;
◆选型代码3:0-0.3~1t/h;
◆选型代码5:0-0.5~1t/h;
◆选型代码7:0-0.7~1t/h
◆选型代码A:0-1~10t/h
◆选型代码B:0-1.5~15t/h
◆选型代码C:0-2~20t/h
◆选型代码D:0-3~30t/h
◆选型代码E:0-4~40t/h
卫生型多参数质量流量变送器的补偿与标定
1、卫生型多参数质量流量变送器的温度补偿
常规流量计在使用过程中,都会受环境和介质温度的影响,流量计输出信号会产生明显波动。鉴于这些原因,在卫生型多参数质量流量变送器检测元件(传感器膜盒)的生产过程中,fkswng仪表按照-20℃~85℃温度段补偿。在-20℃~85℃温度段内平均分为5个温度点,每个温度点上再加不同的压力差(△P)进行调校。通过这种宽温度段多压力点的补偿方法,卫生型多参数质量流量变送器受温度的影响明显大幅度减小。下面是从实验报告中摘录的一组编 号YR0201#传感器(△P量程0-6kPa)温度补偿前后的实验数据,测试结果如下表所示。

卫生型多参数质量流量变送器的标定
卫生型多参数质量流量变送器采用标准表法分段标定。标准表选用0.3级高精度的电磁流量计,流置计和它串联在同一密闭管道中。两台流量计都装有流量计数器,以便所有数据能够同步采集。

卫生型多参数质量流量变送器行业应用优点
在制药或食品行业测量有卫生型需求的水等流体时,大多数企业采用浮子流量计、涡轮流量计、孔板流量计、涡街流量计和科氏力流量计等流量装置。但是以上流量计由于本身结构或者使用成本等诸多的限制,都有许多 不足之处。fkswng仪表就以下几个典型的流量计在制药或食品行业对纯水的测量为例,进行剖析。
◆浮子流量计
浮子流量计的结构与原理:浮子流量计的主要测量元件为一根小端向下,大端向上的垂直安装的锥形玻璃管及其在内可以上下移动的浮子。流体自下而上流经锥形管时被浮子节流,而此时浮子的上下游之间产生压力差, 浮子在此差压作用下上升。当浮子所受差压力、重力、浮力及粘性力的合力为零时,浮子处于平衡位置。因此,流体流量与浮子的上升高度,即与流量计的流通面积之间存在一定的比例关系。
浮子流量计测量纯水的优缺点:结构简单,成本较低;但对流体的测量精度较低,只能达到1.0级;测量元件浮子在移动时易与管壁摩擦, 间隙,易滋生细菌,不适合测量纯水流量。
◆孔板流量计
孔板流量计的结构与原理:孔板流量计包括节流件、测量管和引压管(高压、低压端)。当流体通过节流件附近造成局部收缩,流速增加,在其上、下游两側产生静压力差。该压力差和流体流速成正比,即可得出流速和流量。
孔板流量计测量纯水的优缺点:结构简单,成本较低,但对流体的测量精度低,测量元件(节流件)与测量管之间有死角隙,易滋生细菌,不适合测量纯水流量。
◆涡街流量计
涡街流量计的结构与原理:涡街流量计主要测量单元是由测量导管和漩涡发生体以及检测探头组成。测量管中垂直插入一个柱状漩涡发生体时,流体通过柱状漩涡发生体两侧就交替地产生有规则的漩涡,检测探头来检测漩涡的释放频率f,f与流体的流动速度v成正比,由此通过测量漩涡释放频率就可算出瞬时流量和体积流量。
涡街流量计测量纯水的缺点:对流体的测量精度低,能达到1.0级;测量元件(旋涡发生体和检测探头)与测量管之间有安装间隙,易滋生细菌,不适合测量纯水流量。
◆涡轮流量计
涡轮流量计的结构与原理:涡轮流量计的测量元件主要由叶轮、轴承和管道组成;当流体通过导管推动叶轮旋转,其旋转的角速度与流体流速成正比,通过角速度就可以算出流体的流速和流量值。
涡轮流量计测量纯水的缺点:对流体的测量精度高;但测量元件(叶轮)易磨损,易滋生细菌,不适合测量纯水流量,造价成本高。
◆科氏力流量计
科氏力流量计的结构与原理:科氏力流量计结构有多种形式,一般由振动管与转换器组成。其利用流体在振动管中流动而产生与流量成正比的科氏力的原理来直接测量流量。
◆科氏力流量计测量纯水的优缺点:对流体的测量精度高;测量管道光洁,便于清洗,不易滋生细菌,较适合测量纯水。但是使用成本太高,占用空间大。
由以上分析可以看出,这些流量计对卫生型需求的水的测量方面都存在着缺陷,而卫生型多参数质量流量变送器的出现,在一定程度上可以消除这些不足之处。其优点包括:结构简单,安装方便,占用空间小,测量精度高:测量管道内部拋光无死角设计,避免了细菌滋生,完全达到了GMP标准卫生级要求,用户的使用成本适中。
卫生型多参数质量流量变送器可同时显示和输出流量、压力和温度三种参量,结构简单,安装方便, 不仅节省了用户的应用成本,而且降低了现场对安装空间的要求。由于具备高性能和低成本的优势,卫生型多参数质量流量变送器可以在生物、 制药、食品和卫生等行业广泛应用。
