高性能蝶阀具有流量大、流阻小密封好等特点,应用于石油、天然气、化工、电站、造纸与纸浆等工业中,并且被核工业,宇航工业等高新技术领域所接授,用来输送危险性或超低温介质。蝶阀采用双偏心设计,密封时可以进行自调整,开启时消除了密封面的磨损,提高了使用寿命。
高性能对夹式蝶阀
对夹式蝶阀采用带有球形密封表面的双偏心蝶板,配以单片挠性唇式密封座,适用于要求可靠密封和良好调节特性的场合。由于双偏心蝶板的设计,该阀门具有严密的密封性能,超长的使用寿命。可作快速切断或调节流量之用。

对夹式蝶阀适用于各种工业管道中液体和气体(包括蒸汽)的输送。经特选,也可用于特殊介质,如氯气、氧气、高真空、高寿命、抗硫腐腐蚀性介质。产品还可具有防火功能选型,低温选型等。连接方式可采用对夹式或用于大管径及管路终端的凸耳式单法兰设计。
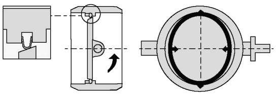
①唇式密封
关闭时PTFE唇式密封的密封做(A)绕曲,有成球形扇面的蝶板(B)外边缘密合,保证了可靠密封。阀体(C)与镶插件(D)使密封座紧固在位,并将它们的密封面与介质隔离,防止了腐蚀。

②双偏心设计
偏心蝶板与偏置轴保证阀门开启时,蝶板密封面迅速离开阀座密封面,是蝶板有阀座密封面只有短暂的接触时间,延长了阀门的使用寿命,同时也保持了蝶板整个周边的密封性。
金属密封蝶阀
蝶阀采用金属密封,它的连揍形式分别为对夹式和法兰式。这种阀门适用于温度较高的,并可在粘稠或带颗粒介质工况下达到持久可靠的密封。使用寿命长,关断性能好,控制范围广。偏置式轴和偏心的椭圆形蝶板组成三偏心结构。精湛的工艺技术实现了蝶板对密封圈、密封圈对阀体的金属对金属的可靠密封。
L90系列金属密封蝶阀使用截面成U形的金属密封圈,在关闭状态下,随椭圆形蝶板变形,与蝶板密封面四周紧密接合。由于它在阀体的槽内能作径向浮动,因而能补偿热力循环的波动,用于区域供热主、支管线及蒸汽管线上作开闭和节流用。

浮动式阀座密封圈
阀门使用浮动式阀座密封圈,该密封圈可在较深的阀体槽内作径向扩伸或定位,因而在各种工作条件下均可进行自调整以保持最佳密封位置。蝶板成椭圆形,并以双偏心安装,当蝶板与圆形阀座密封圈接触时,将密封圈向外挤压造成其短轴处与密封圈接触。当阀门开启时,接触立即解除,密封圈恢复原来形状,这样就防止了磨损,阀门可经受几十万次运行。

金属硬密封高压蝶阀
金属硬密封高压蝶阀采用偏心球面蝶板与介质激励下的挠性金属阀座相配合的设计,具有最低的操作扭矩、最大的流量系数及可靠地双向密封。金属硬密封高性能蝶阀适用于石油精炼,电力,石油化工,天然气,LNG,空分等工业领域,可作为开关隔离阀和调节阀之用。

fkswng仪表制造有限公司是这种高性能蝶阀的代理商,高性能蝶阀的选型及价格咨询直接与网站客服或市场部联系。
