一、防爆挠性管防爆原理是什么?防爆挠性管到底有没有防爆作用?
1、防爆挠性管防爆原理
防爆挠性软管与相连的隔爆型仪表内部发生可燃气体爆燃时,爆燃能量(热量及压力)一部分可被防爆挠性软管吸收,一部分压力通过接头向外界及穿线管泄放,泄放过程中热能进一步被接头金属吸收,最后达到不会引燃(引爆)外部可燃气体的目的。防爆挠性管的接头都是金属的,连接是可透气的,垫圈也是金属的,就是为了达到泄放和吸收的目的。由此可以看出,防爆挠性的防爆原理基本就是靠爆炸室的延伸,减小爆炸能量,防止引燃外部可燃气体。
2、防爆挠性管有没有防爆作用?
实际工程中,防爆挠性管在仪表接线口处是不密封的,易导致仪表进水,可燃气体也可进入隔爆仪表内部。上述原理说防爆功能是靠爆炸室的延伸,减小爆炸能量,防止引燃外部可燃气体的原理来实现防爆的。但是谁能保证就不会引燃外部气体呢?防爆挠性管可保护仪表电缆不被外力伤害,真正起防爆功能的是和仪表连接的防爆密封接头。
3、防爆挠性管单独使用防爆效果有限,需与防爆格兰头等组成完整的系统。更多的作用是对电缆本身的物理保护,防止电缆受到外部伤害。如果使用防爆挠性管,建议也要在仪表进线口引入防爆格兰头密封装置,防止可燃气体进入隔爆内腔。

二、通常防爆挠性管连接方法
1、电缆配线方式
现场仪表电缆通常敷设在汇线槽、托盘或钢管中。但在各类现场仪表或接线箱的电缆进线口外侧附近的一小段电缆,不同工程中对其保护及处理方法有较大区别。按对电缆保护方式的不同,分以下两类:
①连续式
电缆在钢管或挠性管内完整地得到保护,无外露之处,不易受机械外伤,这种敷设方式有两个实施方案,即:钢管及附加部件直接连接到仪表(或接线箱)本体上;电缆穿过钢管及挠性管连接到仪表(或接线箱)本体上;
②非连续式
电缆从现场仪表或接线箱引出后的一段较短距离内,保护管是断开的,电缆是裸露的,没有加以保护。
上述连接方式在国内外的工程中均有采用,因为在有可能产生危险火花部件壳体的电缆进线口处,均采取了有效的隔离和密封,所以都满足防爆及保护要求。
2、考虑到目前电缆施工实况推荐采用电缆密封接头+汇线槽(非连续式保护连接)、电缆密封接头十钢管(非连续式保护连接)、电缆密封接头十钢管(连续式保护连接)和电缆密封接头挠性管十钢管(连续式保护连接)四种连接方法。
①隔爆电缆密封接头+汇线槽(非连续式保护连接)

②隔爆电缆密封接头+钢管(非连续式保护连接)

③隔爆电缆密封接头+钢管(连续式保护连接)

④隔爆电缆密封接头挠性管+钢管(连续式保护连接)

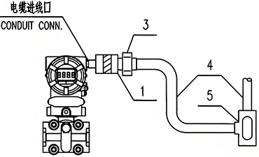
注:1带隔爆密封接头的挠性管
三、结论
1、从图集的以上①②③④接线方式中可以看出,不管哪种方式,在仪表的进线口都是带有隔爆密封装置的。可见防爆挠性管需要和隔爆密封接头装置配合使用。
2、对于铠装电缆,可采样第①和②种方式,若是非铠装电缆,要做好电缆保护,避免电缆受外部环境影响,损伤电缆。
3、对于非铠装电缆,可采样第③和④种方式。在一些规范明确必须配防爆挠性管的场合,须采用第④种方式。
4、不管采用哪种方式,仪表进线口都要安装隔爆密封接头装置。
相关阅读
◆安装仪表使用挠性管的一些误区
◆防爆挠性管备受安全专家钟爱,何故?
◆防爆区域仪表使用防爆挠性管的规范要求
◆SH/HG/GB规范对挠性管使用的具体要求
