
E+H科里奥利质量流量计安装
1、请遵循下列安装要求:
①只要没有气蚀现象发生,质量流量计的测量不会受到产生湍流的管件(阀门、弯头或三通管等)影响,无需额外采取特殊的预防措施。
②为了防止测量管受外力影响产生形变带来测量误差,建议安装前检查并确认质量流量计前后管道、法兰及法兰孔是否对正。
③测量管的高频振动使其不易受管道振动的影响,但推荐质量流量计前后管道做好必要支撑,确保测量的准确。
④鉴于力学原因,为了保护管道,建议为大质量的传感器提供适当的支架支撑。
2、安装位置
测量管中积聚的空气或气泡会导致测量误差增大,应避免使用以下安装位置:
①管道的最高点,存在空气积聚的风险。
②流体自上而下流动竖直放空管道出口处。

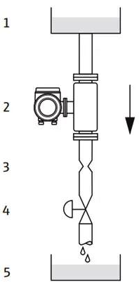
质量流量计的理想安装位置是自下而上的竖直管道中,而在下图流体自上而下的竖直管道中,需要采取缩径管或使用横截面小于公称口径的节流孔板以防止在测量过程中测量管被抽空。

1为供料罐 ; 2为传感器 ;3为节流孔板、缩径管 ;4为阀;5为计量罐
3、系统压力
必须确保不会发生气穴现象,因为这会影响测量管的振动。在正常条件下测量与水特性相似的流体时无需采取特殊措施。
测量沸点低的流体(例如:碳氢化合物、溶剂、液化气)或在吸入式管道中测量时,必须确保压力不低于介质蒸汽压力。
当系统压力足够高时,可以确保液体不产生气化并防止流体中夹杂的气体逸出。
因此,质量流量计应首选的安装位置:
①泵的下游管道中(无真空危险)
②竖直管道的最低点
4、安装方向
确保传感器铭牌上的箭头指向与通过管道的流体流向一致。
竖直安装:建议安装在介质自下而上流动的管道中(图V)。当流体不流动时,夹带的固体将下沉并且气体将从测量管中逸出。测量管能够完全排空,并且能够防止固体粘附。
水平安装:正确安装后,变送器外壳在管道上方或下方(图H1/H2),这意味着在测量管中不会形成气泡或固体沉积物。避免将变送器外壳与管道放置在同一水平面。

✔✔=建议方向; ✔=在某些情况下的建议方向; ✘=不允许的方向
为了确保不超过变送器的允许环境温度范围,建议采用以下安装方向:
①测量温度非常高的流体时,建议采用变送器头朝下的水平安装方向(图H2)或竖直安装方向(图V)。
②测量温度非常低的流体时,建议采用变送器头朝上的水平安装方向(图H1)或竖直安装方向(图V)。
特殊说明
Promass F、E、H、S和P带弯测量管的传感器水平安装时,传感器的安装位置必须与流体特性相匹配。

1为不适用于含固体颗粒的流体,存在固体积聚的风险;2为不适用于有气体逸出的流体,存在空气积聚的风险。
5、伴热和保温
测量某些流体时需要采取适当的伴热措施避免传感器处出现热量流失。可以采用电加热,例如用加热元件或通过铜制热水管或蒸汽管或热夹套进行。
◆电子部件不能过热!确保不超过变送器的最高允许环境温度。
◆当流体温度在200°C~350°C之间时,最好选用高温分体型仪表。
◆当采用电伴热时,热量通过相位控制或脉冲填充调节,不能排除测量值受可能产生的磁场的影响(即大于EC标准允许的值(Sinus 30A/m))。在这种情况下,传感器必须进行磁屏蔽。
测量某些流体时需要采取适当的保温措施避免传感器处出现热量流失,确保满足工作温度要求。
如果 Promass F 高温型仪表水平安装(变送器头朝上),则建议最小保温层厚度10mm以减少对流,最大保温层厚度60mm。
6、直管段要求
无前后直管段长度要求。如可能,传感器应安装在尽可能远离阀门、三通管、弯头等管件的位置。
7、振动影响
测量管的高频振动使其不受管道振动的影响,确保测量系统正确测量。通常情况下,传感器不需要特别的安装措施。
