客观的说,fkswng仪表在看到这个专利时还是有点感叹的,国外领导厂商多年前便已经在研究固态断路器相关的技术和产品了,这需要相当强的前瞻性和定势耐力......
目前来看,经过不断的积累、沉淀,国外固态断路器技术已经日趋成熟,尤其这两年,各种类型的固态断路器厂商和产品更是呈井喷的态势,ABB、AtomPower、AmberSI、Blixt......
谈到固态断路器产品,不得不提ABB!
截止目前,ABB对固态断路器的技术储备:对应MCB领域,投资瑞典Blixt;对应MCCB领域,投资美国AtomPower;对应ACB领域,ABB自行研发SSCB。布局相当完善......
下面来看看ABB固态断路器专利
申请日:2013.07.23
专利权人:ABB股份公司
发明人:S.贝萨纳、F·帕斯奎尔
技术领域
本发明涉及低电压开关装置的技术领域,例如电路断路器、切断开关、接触器等,更特别是,本发明涉及一种具有开关单元的开关装置,该开关单元包括一个或多个固态开关
背景技术
尽管已经证明传统机电开关非常坚固和可靠,但是在直流电(“DC”)用途中和主要在相对较高电压(高达1500V )时,分断时间可能相当长,因此,电弧(该电弧通常在分离情况下在机械触点之间放电)可能持续相对较长时间,因此可能产生严重的触点磨损,从而明显降低电气寿命,即降低开关装置能够执行的开关操作次数
为了解决这样的问题,已经设计了所谓的固态断路器(“SSCB”),该固态断路器对于各电极都采用一个或多个固态开关用于电流断路目的,通常,固态开关是基于半导体的开关装置,它能够在on(开)状态和off(关)状态之间转换。
SSCB的主要优点在于,因为它们的无电弧断路操作,它们具有潜在的无限次数电气寿命,而且,与机电开关装置的分断时间相比,它们的分断时间明显更短,另一方面,当固态开关处于on状态时,SSCB通常需要强化冷却,以便除去由流过固态开关的电流产生的热量,甚至更相关的缺点在于SSCB不适合提供在电极的上游和下游连接部分之间的电流隔离,实际上,即使当固态开关处于off状态时,也有很小电流(泄漏电流)流过固态开关。
为了减轻这些问题,已经发展了混合方案,其中,对于各电极,普通的机电开关与电极的固态开关并联和/或串联地电连接,混合固态断路器已经证明在它们的操作中相当可靠和有效,但是它们也受到一些缺陷的影响:通常,它们相对庞大,很难在现场安装;而且,它们具有相对复杂的结构布局,该结构布局以工业水平来实现时通常昂贵;另外,固态开关和机电开关的操作必须根据非常精确的时序和严格的正时来管理;因此,在市场上还要求能够至少部分解决上述缺陷的技术方案。
发明内容
为了响应该需要,本发明提供了一种开关装置,专利内容晦涩,低压配电研发组提炼如下:
1、传统机电开关结构
2、本体触头系统由固态开关取代
3、本体可电动或手动操作摇进
4、控制单元控制协调逻辑时序(分|退)
5、分断与隔离功能一体化
6、简化设计、缩小体积、降低成本
原文专利关键内容点
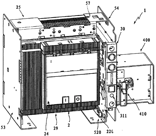
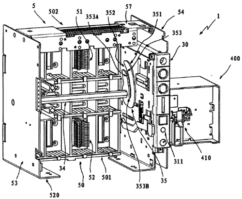
1、对于各电极,开关单元2包括一个或多个固态开关20,该固态开关20可以根据需要而串联或并联地电连接,该固态开关20优选是基于半导体的开关装置,例如功率MOSFET、绝缘栅双极晶体管(“IGBT”)、栅关闭可控硅整流器(GTO)、集成栅转换可控硅整流器(IGCT)等。
2、开关单元2包括通气组280,该通气组280包括合适布置的通气装置28,该通气装置28与固态开关20操作相连,以便保证合适地除去在这些固态开关20操作时产生的热量。
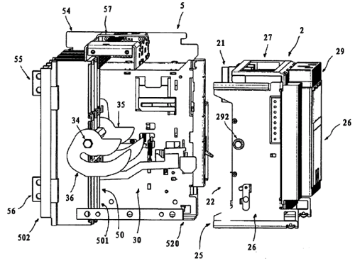
3、开关单元2可相对于支承框架5运动,即在插入位置A(图17)和退回位置B(图16)之间,反之亦然。
4、开关装置2包括致动装置3,用于使得开关单元2在所述插入位置A和退回位置B之间运动,反之亦然。
5、开关装置1包括控制单元4,该控制单元设置成控制开关单元2和致动装置3的操作
6、控制单元4包括控制装置41,用于当开关单元2必须进行插入/退回操作时协调致动装置3和固态开关20的操作;控制装置41协调致动装置3和固态开关20的操作,这样,致动装置3只在固态开关20处于off状态时才使得开关单元2在插入和退回位置A、B之间运动以及相反。这样,开关单元2的插入/退回操作总是在安全操作情况下进行,从而明显减少了在相互连接/分离的触点21、22、51、52处的放电现象,例如电弧。
7、实际上,电极与外部装置或电源总线的电流连接/绝缘通过开关单元2的插入/退回操作来保证,而不采用专门的机电开关装置。
8、执行结合的断路和切断功能的这种能力对于断路/切断操作的协调和在开关装置的部件之间的交接提供了明显的优点。
固态断路器附图如下



相关阅读
断路器正常使用及安装条件
电机与配套的断路器/接触器/热继电器参数对照表
一文弄懂断路器、隔离开关、负荷开关的区别与应用
