天然气作为一种清洁能源,正迅速地被开发利用。目前国内从改变能源结构和改善环境状况角度出发,正积极发展液化天然气(LNG)技术,液化天然气项目在各地纷纷启动。沿海城市一般建设液化天然气接收站,从海外接收液化天然气,而内地拥有天然气资源地区则建设液化天然气工厂。无论是液化天然气接收站,还是液化天然气工厂,LNG储罐都是最为关键的设备之一,其中应用最为广泛的是圆柱形常压LNG储罐。
本文介绍某国产化示范LNG工厂中的30000m3LNG单容罐的仪表配置及控制方案。
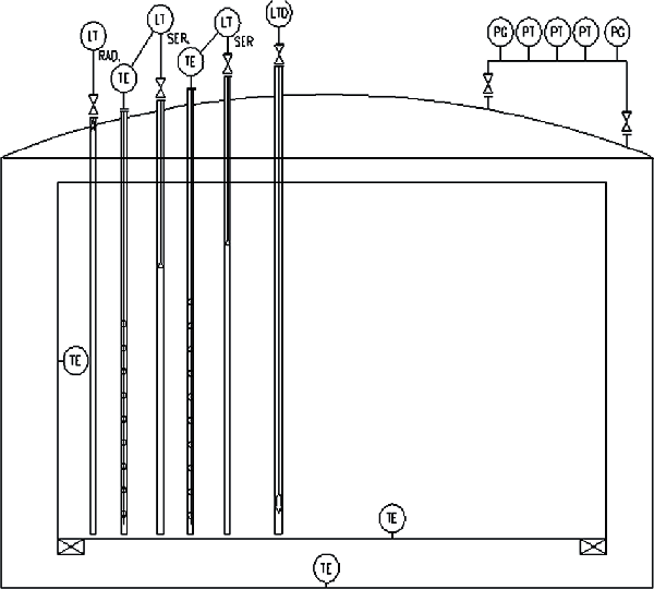
1、LNG储罐现场仪表
根据《危险化学品重大危险源辨识》(GB18218-2009),天然气的储存量超过50t则定性为重大危险源。30000m3LNG储罐的单罐天然气储量达1320t,是规范要求的26.4倍,故LNG储罐应定性为重大危险源。
LNG储罐发生事故是灾难性的,如1944年美国俄亥俄州克利夫兰市的LNG储罐泄漏事故,造成巨大的人员和财产损失。
鉴于LNG储罐的高危险性,本项目对LNG储罐压力、液位控制均采取2oo3逻辑,以满足LNG储罐的高可靠性和高可用性要求,并设置液位-温度-密度计(LTD)和防翻滚预测软件对LNG储罐内液体密度进行实时监测,防止LNG分层翻滚。本项目LNG储罐仪表配置如图1所示。

图1 LNG储罐仪表配置图
①温度仪表
在LNG储罐上设置3套表面热电阻分别用于内罐底板上表面预冷温度检测,内罐内侧壁LNG温度检测,内罐底部玻璃砖及内外罐环形空间泄漏检测;设置2套平均温度计用于测量罐内LNG液相和气相的平均温度,浸入液相所有热电阻的平均值作为液相平均温度,浸入气相所有热电阻的平均值作为气相平均温度。
②压力仪表
在LNG储罐气相连通管上设置2台膜盒压力表和3套单晶硅压力变送器,变送器采用2oo3逻辑完成对LNG储罐的压力控制。
当压力下降到低报警值时,关闭LNG储罐气相出口阀门,停止外输潜液泵和BOG(Boil Off Gas闪蒸汽)压缩机;当压力继续下降时打开天然气阀门,补充天然气维持储罐压力;当压力继续下降到低低报警值时,打开氮气阀门,补充氮气维持储罐压力;若压力继续下降到-0.5kPa.g,真空阀打开补充空气来维持储罐压力。
当压力升高到高报警值时,关闭LNG储罐进液阀门; 当压力继续升高时打开气相调节阀,进行调压放空;当压力继续升高到高高报警值时打开泄放阀,进行泄压放空; 若压力继续升高到25kPa.g,安全阀打开进行泄压。
③液位仪表
在LNG储罐上设置1套调频连续波雷达物位计和2套伺服液位计, 完成对LNG储罐的液位控制。
雷达物位计液体测量精度为±0.5mm,提供2路通信信号、1路SIL2认证的安全继电器输出至中控室SIS系统,采用4″导波管安装并配带在线维护阀。提供罐旁指示仪用于液位的就地显示。
伺服液位计液位测量精度为±1mm,提供2路通信信号、2路SIL3认证的安全继电器输出至中控室SIS系统,采用6″法兰与LNG储罐连接并配带在线维护球阀。提供罐旁指示仪用于液位的就地显示。
当储罐液位下降到低低液位时,由2套伺服液位计组成1oo2低低液位联锁,停止外输潜液泵;当储罐液位升高到高高液位时,由雷达液位计、2套伺服液位计组成2oo3高高液位联锁,关闭LNG储罐进液阀门。
④液位-温度-密度计(LTD)
LTD带有伺服机构,由机械驱动部件、1个多传感器(包括温度传感器、振动式密度传感器)组合的探头及现场处理单元组成。在LTD工作时,探头在微处理器的指令下由电机驱动在LNG储罐中垂直运动,探头的运动模式可设置成自动或手动。探头内的传感器可分别测量出所在位置的液位、温度、密度信号。
LTD液位测量精度为±2mm,温度测量精度为±0.1℃, 密度测量精度为±0.5kg/m3,提供2路通信信号输出,采用6″法兰与LNG储罐连接并配带在线维护球阀。提供罐旁指示仪用于液位的就地显示。
LTD用于实时监测罐内竖向不同点(最多250点)LNG的液位、温度、密度,并将采集的数据上传至翻滚预测软件进行处理分析,对LNG翻滚进行预警。
2、上位机管理系统
LNG储罐上位机管理系统包括上位机硬件和储罐管理软件。
①罐区管理系统硬件配置如下:
◆2台管理计算机。
◆1台A3彩色网络打印机。
◆2台RS232/RS485转换器。
◆2台20mA回路转换器。
◆1台TRL2/RS232转换器。
◆1套Rittal机柜。
②软件
采用基于Windows操作系统平台上的标准软件包LNG Manager V6.0。LNG Manager管理软件包括以下功能:
1)显示功能
◆来自液位计/变送器的液位和温度。
◆液位和液体平均温度。
◆关于液体和液体平均温度的报警。
◆LTD传感器在液化气中的位置。
◆LTD传感器位置的温度和密度。
◆对当前温度和密度的报警。
◆密度和温度变化的趋势显示。
2)记录功能
所有的事件或报警都自动记录在硬盘上,包括格式为日期,时间和报警类型。传感器位置的密度和温度也同时记录。LTD传感器的位置定义高达250级。
3)计算功能
根据提供的罐体参数,计算每罐的总体积和质量。
4)打印功能
打印来自罐表系统的液位和液体平均温度、历史事件和报警。
5)与现场设备通信功能
每个20mA信号处理单元通过冗余20mA总线网络连接到罐区的现场设备,并收集来自现场仪表的数据。
6)与DCS通信功能
LNG Manager将采集的罐表相关数据,通过RS485通信总线,采用MODBUS RTU协议传送至中控室DCS系统。
③网络结构图
表面热电阻A/B/C的温度转换器、平均温度计A的温度转换器、伺服液位计A的罐旁指示仪采用本安RS485总线(2线信号+2线供电)接入伺服液位计A。
平均温度计B的温度转换器、伺服液位计B的罐旁指示仪采用本安RS485总线(2线信号+2线供电)接入伺服液位计B。
伺服液位计A、伺服液位计B、液位-温度-密度计(LTD)各采用2路20mA总线到防爆接线盒,液位-温度- 密度计(LTD)的罐旁指示仪采用2路20mA总线到防爆接线盒。
雷达物位计计采用1路20mA总线到防爆接线盒,1路TRL2总线到中控室TRL2信号处理单元,1路485总线到罐旁指示仪。防爆接线盒采用2路20mA总线到中控室20mA信号处理单元。LNG储罐仪表网络结构如图2所示。

图2 LNG储罐仪表网络结构图
通过以上连接使现场仪表通过冗余线路把信号上传至控制室罐区管理系统,确保罐区管理系统数据采集的可靠性。
3、LNG翻滚预测
翻滚现象是指两层不同密度的LNG在储罐内迅速上下翻动混合,瞬间产生大量的气化气的现象。在长期的储存中,储罐内的LNG容易形成两个稳定的分层,由于上层LNG静压的抑制作用,使得外界传入的热量无法使下层的LNG及时蒸发,造成下层LNG处于过饱和状态。当储罐内 上层的LNG密度大于下层时,下层LNG突然上升,导致迅 速蒸发,从而发生翻滚(Roll-over)现象。翻滚将使容器受到超压,当容器内部的压力增加到一定程度将引起安全阀的开启。
本项目配置一套LNG翻滚预测软件(WHE SSOE ROLLOVER PREDICTOR),对LTD采集的数据进行实时分析,并结合专家数据库对LNG翻滚进行预测。在预测到翻滚的情况下,将向DCS系统发出警报,提醒操作员启动潜液泵打循环,将储罐内的LNG充分混合。
LNG翻滚预测软件配置完成后便自动投入运行,无需操作人员干涉。翻滚预测软件可以预测未来30天(最长)内是否会发生翻滚和翻滚发生的时间。它是一个独立的应用程序,从午夜0时开始每4h被触发一次,并为每一个储罐返回一个输出:报警位,最大的压力,翻滚日期和预期翻滚期间的最大BOG。
根据规范要求,LNG储罐应配置2套独立的液位计和1套独立的液位切断装置,液位计的更换应不影响储罐的操作;根据风险评估配置1套或多套压力变送器;180m3及以下的LNG储罐通常配置1套差压式液位计和1套压力变送器。LNG液化工厂因进料原料气组分变化不大,产出LNG 密度相对稳定,故可不设置LTD;LNG接收站可能接收不同密度的LNG,为降低LNG分层翻滚风险,建议配置LTD。
本工程于2014年6月一次性投产成功,2座LNG储罐正常进液至设计液位,至今安全、平稳运行。本项目配置的LNG储罐罐表系统和控制方案为监视LNG储罐提供安全保障,完全满足工艺控制要求,减少了现场操作人员的数量,提高了生产管理水平,创造了良好的经济效益和社会效益。
作者:中国石油工程建设有限公司西南分公司 熊劲
