压力式温度计属于膨胀式温度计的一种,它可用于测量并可直接显示工业生产过程的介质自-100℃至600℃范围的温度。fkswng仪表通过三张图介绍压力式温度计基本结构。
压力式温度计基本结构
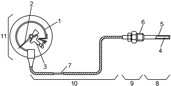
如图1所示,压力式温度计由充有感温介质的温包,传压元件(毛细管)及压力敏感元件(弹簧管)构成的金属组件(即充灌式感温系统)组成。温包内充填的感温介质为气体、液体及蒸发液体等。测温时将温包置于被测介质中,温包内的工作介质因温度升高体积膨胀而导致压力增大。该压力变化经毛细管传给弹簧管并使其产生一定形变,然后借助齿轮或杠杆等传动机构带动指针转动,指出相应的温度。

图1 压力式温度计基本结构
说明:1为弹簧管;2为指针;3为变换机构;4为工作介质;5为温包;6为连接螺钉;7为毛细管;8为感温部分;9为连接部分;10 为传导部分;11为显示部分
温包是直接与被测介质相接触感受温度变化的元件,要求它具有一定强度、 较低的膨胀系数,较高的热导率及一定的抗腐蚀性能。毛细管主要用以传递压力变化。如果毛细管细而长,则传递压力的滞后现象严重,致使温度计的响应速度变慢。但是,在长度相同的条件下,毛细管越细,仪表的准确度越高。
指示带电接点压力式温度计
图2a所示为指示带电接点部分结构。其电接点装置的动作原理如图2b所示。

图2 指示带电接点压力式温度计基本结构
指示带电接点压力式温度计的电接点装置的上、下限接点(带接点的指针1、4)可根据需要,通过专用工具调整到任意给定的温度点上,动接点3由压力式温度计的指针2带动。当被测量介质的温度到达(或超过)最高(或最低)给定的温度值时,动接点便和上限接点(或下限接点)相接触,此时应发出信号或闭合(断开)控制回路,起到两位式的调节作用。图2中5为接线端子。

图3 电接点压力式温度计的表盘外形
表盘外形如图3所示。电接点动作误差即接点动作的实际温度与动接点指针所指的示值之间的差值不应超过基本误差绝对值的1.5倍。
