光学高温计和光电比色高温计都属于非接触测温的仪表,fkswng仪表在本文对光学高温计和光电比色高温计工作原理和优缺点做科普介绍。
光学高温计是发展最早、应用最广的非接触式温度计之一。它结构简单,使用方便,测温范围广(700-3200℃),一般可满足工业测温的准确度要求。光学高温计目前广泛用于高温熔体、炉窑的温度测量,是冶金、陶瓷等工业部门十分重要的高温仪表。光学高温计是利用受热物体的单色辐射强度随温度升高而增加的原理制成的,由于采用单一波长进行亮度比较,因而也称单色辐射温度计。物体在高温下会发光,也就具有一定的亮度,物体的亮度与其辐射强度成正比,所以受热物体的亮度大小反映了物体的温度。通常先得到被测物体的亮度温度,然后转化为物体的真实温度。

光学高温计的缺点是以人眼观察,并需用手动平衡,因此不能实现快速测量和自动记录,且测量结果带有主观性。最近,由于光电探测器、干涉滤光片及单色器的发展,使光学高温计在工业测量中的地位逐渐下降,正在被较灵敏、准确的光电高温计所代替。光电高温计是在光学高温计的基础上发展起来的,用光敏元件代替人眼,实现光电自动测量。

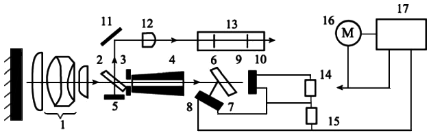
说明:1为物镜;2为平行平面玻璃;3为光栏;4为光导棒;5为瞄准反射镜;6为分光镜;7、9为滤光片;8、10为硅光电池;11为圆柱反射镜;12为目镜;13为棱镜;14、15为负载电阻;16为可逆电动机;17为放大镜
图1 光电比色高温计的原理结构图
这里以比色高温计为例,介绍光电高温计的工作原理。图1为光电比色高温计的原理结构图。被测对象经物镜1成像,经光栏3与光导棒4投射到分光镜6上,使长波(红外线)辐射线透过 ,而使短波(可见光)部分反射。透过分光镜的辐射线再经滤光片9将残余的短波滤去后被红外光电元件(硅光电池)10接收,转换成电量输出。
由分光镜反射的短波辐射线经滤波片7将长波滤去,而被可见光硅光电池8接收,转换成与波长亮度成函数关系的电量输出。将这两个电信号输入自动平衡显示纪录仪进行比较得出光电信号比,即可读出被测对象的温度值。光栏3前的平行平面玻璃2将一部分光线反射到瞄准反射镜5上,再经圆柱反射镜11、目镜12和棱镜13,就能从观察系统中看到被测对象的状态,以便校准仪器的位置。
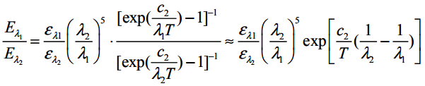
设长波(红外线)波长为λ1,短波波长为λ2,光谱发射率分别为ελ1和ελ2,根据普朗克定律,两种波长的辐射能量为

两种波长下辐射能量之比为

由上式可见,如果波长λ1和λ2一定,且已知相应波长下的ελ1和ελ2,则两波长辐射能量之比与其热力学温度之间成单值对应关系,只要测出辐射能量之比就可以求得温度T。
比色高温计是按照黑度刻度的,用这种刻度的高温计去测量实际物体,所得到的温度示值为被测物体的“颜色温度”。若黑体在λ1和λ2两种波长下,在温度为TS时的辐射能量之比和实际物体在温度T时的辐射能量之比相等,则TS为该物体的“颜色温度”,二者之间存在以下关系

公式中TS为比色高温计的读数;T为实际温度,根据λ1、λ2、ελ1、ελ2和TS可以通过读数求出被测物体的实际温度。
这种高温计属非接触测量,量程为800-2000℃,精度为0.5,响应速度由光电元件及二次仪表记录速度而定。其优点是测温准确度高,反应速度快,测量范围宽,可测目标小,测量温度更接近真实温度,环境的粉尘、水汽、烟雾等对测量结果的影响小,可用于冶金、水泥、玻璃等工业领域。
相关阅读
常用温度测量方法
