没有仪表回路图,可以根据现场的实际,对仪表检测或控制系统进行回路分解,然后画出仪表回路图,这样的回路图不用拘于形式,只要方便仪表及控制系统维修就行。系统回路可分为电气回路、仪表气源回路、工艺介质检测的导压管回路三种。
1、温度控制系统的回路分解
图1是一个常见的蒸汽加热器温度控制系统。用TT热电阻一体化温度变送器测量的热水温度送至TC调节器,与给定温度进行比较,水温低于给定温度时,调节器的输出信号将开大调节阀,增加蒸汽流量使水温上升。水温高于给定温度时,调节器的输出信号将关小调节阀,减少蒸汽流量使水温下降。
图1 蒸汽加热器温度控制系统示意图
为了直观地看出这个控制系统各个组成环节之间的相互影响和信号联系,可用图2的方块图来表示控制系统的组成,图中每个方块代表组成系统的一个环节。

图2 蒸汽加热温度控制系统方块图
为了更直观,我们按电气信号回路来画,如图3所示。图3中:A是温度传感元件热电阻的输出信号回路,又是温度变送器的输入信号回路。输出的是一个与热水温度变化成比例的电阻信号,温度上升电阻值增加,温度下降电阻值下降。B是温度变送器的输出信号回路,又是调节器的输入信号回路。输出的是一个与热水温度变化成比例的电流信号,温度上升电流值增加,温度下降电流值下降。C是调节器的输出信号回路,又是执行器的输入信号回路。输出的是根据温度偏差信号的大小及预定的控制规律发出的电流信号,是一个与热水温度变化成反作用的电流信号,热水温度上升电流值下降,关小调节阀来减少蒸汽流量,使热水温度下降;热水温度下降电流值上升,开大调节阀来增加蒸汽流量,使热水温度上升。

图3 蒸汽加热温度控制系统电气回路示意图
知道各回路是如何工作的,就可以知道当该回路有故障时,对下一个回路会造成什么样的影响,这样分析,判断系统故障的思路就清晰了。该图对供电回路,阀位反馈回路,手动操作器回路作了省略。
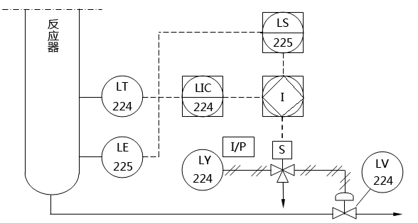
2、DCS液位控制及联锁系统回路分解
图4是一个反应器液位控制及联锁系统图。该系统具有液位调节,低液位联锁控制功能。工作过程是:液位变送器LT把液位信号传送至DCS,DCS的LIC调节器根据液位变化输出一个电流信号,经过电气转换器去控制气动调节阀的开度,以保持液位的稳定。当工艺出现供液量不足时,液位下降至规定值时,低液位开关LE动作,使LS低液位联锁的输出失压,使二位三通电磁阀断电将气动调节阀关闭,以保证生产的安全。

图4 反应器液位控制及联锁系统图
为使于检查故障,按电气回路、仪表用气回路、工艺参数检测回路画出图5。图5中DCS卡件的输入,输出端子,DCS的控制及联锁均属于软连线,信号关系可看组态图,仍可按硬接线的思路来理解及检查回路信号。

图5 反应器液位控制及连锁系统回路示意图
①电气回路
A是液位变送器的输出信号回路,又是DCS的输入信号回路。输出的是一个与液位变化成正比的电流信号,液位上升电流值增加,液位下降电流值下降;B是低液位检测输出信号回路,又是DCS的输入信号回路,是一个开关信号;C是DCS的控制输出信号回路,又是I/P转换器的信号输入回路。输出的是根据液位偏差信号的大小及预定的控制规律发出的电流信号,是一个与液位变化成正比的电流信号,波位上升时控制电流值工开,波位下降时控制电流值下降;D是DCS的低液位联锁信号输出回路,又是二位三通电磁阀的信号输入回路,输出、输入的是开关信号。
②仪表用气回路
把仪表用气称为仪表气源回路,气动仪表对压缩空气是有要求的。仪表用气回路是基于压缩空气进入仪表后,仍然要向大气排空,空气压缩进仪表后又回到大气中,压缩空气回路不通畅,仪表仍然会出现故障。E是I/P转换器的供气回路;F是二位三通电磁阀的供气回路,由I/P转换器将DCS调节器输出的电流转换为对应的气压,通过G来控制气动调节阀开度。二位三通电磁阀通电时联锁不动作,I/P转换器的输出气压从F至G控制调节阀,当低液位联锁动作时电磁阀断电,至调节阀的压缩空气F被关断,调节阀膜片通过G至H放空,在弹簧力的作用下调节阀将处于全关闭状态。
③工艺多数检测回路
I是液位检测传感回路,又是液位变送器的输入信号回路。液位检测传感回路的输出信号是差压还是浮力等,完全取决于所用的检测仪表类型。但其输出的是一个与液位变化成正比的电流信号,在判断液位检测回路故障时要注意零点迁移问题。J是低液位检测回路,又是液位开关的输入信号回路,它是一个开关信号。
3、DCS组态回路分解
DCS组态叫路实际是一此控制算法的组合,由于是用软件来实现,理解起来有点抽象,但还是可以用硬接线的回路来理解。图6是个串级控制的组态图,主控制器TIC100的输出OUT与副调节器FIC100的给定端SET相连接。%Z011101-%Z011103是控制回路的硬件连接号,%Z011103表示:信号来自第一个节点,第一个单元,第一个槽位,第三个通道。

图6 串级控制的组态图
我们把组态图转换成常规的控制系统方块图,如图7所示,就很直观和容易理解了。串级控制系统就是利用两个串联在一起PID的调节器,来稳定一个工艺参数。处于外面的是主回路,由主变送器、主调节器、主对象构成闭合回路。处于里面的是副回路,由副变送器、副调节器、调节阀、副对象构成闭合回路。主调节器的输出作为副调节器的给定值。系统通过副调节器的输出去控制调节阀的开度,实现对主参数的控制。主、副两个回路的分工明确,主回路完成“细调”任务,副回路完成“粗调”任务,副回路起到一个超前的作用。可以理解为:主回路是个定值控制系统,副回路是个随动系统,通过以上分析,可以知道,主调节器发出命令,副调节器进行调节,小干扰由副调节器来消除,大干扰副调节器抢先调,余下的主、副一起调。当知道某个回路有故障,对另一个回路会造成什么影响,就可以大致进行分析和判断。

图7 串级控制系统方块图
首先要判断故障是发生在DCS内部,还是在外围设备或者连线上。如果在DCS内部,可利用上位机的故障报警及显示曲线来分析判断故障,还可切换至手动操作进行观察,根据故障现象进行检查。
故障发生在DCS外部,要检查的就是%Z011101-%Z011103三个回路,一是检查变送器至卡件的电流是否正常,二是检查变送器是否正常,三是检查副调节器的输出电流是否正常。根据信号状态分析,判断故障发生在哪个回路,然后对相关变送器、接线、供电进行检查。
以上外部回路的检查方法也适用于串级控制CPID模块。该模块是将两个常规PID控制模块集成在一起,形成一个功能丰富,使用简便的组合控制模块。它仍有主变送器和副变送器两路输入信号及副调节器一路输出信号。
4、工艺参数检测传递回路
图8是个流量检测差压传递回路示意图,比电气回路图更直观,这里的回路是针对导压管中的测量介质而言,就是差压信号的传递回路,如图中的虚线所示。正常时节流装置前后有随流量变化的压力差,正管的压力永远大于负管,流量越大差压也越大,变送器的输出电流也越大,通常要求仪表在规定的测量范围内,导压管及阀门通畅,测量介质要充满导压管路但又不能让它流动,只有在排污操作时才允许测量介质流动。测量介质出现流动,说明流量检测系统有泄漏故障,如平衡阀内漏,取样网、排污阀、导压管或接头泄漏。阀门或导压管有堵塞,导压管或差压变送器测量室中带有气体、液体,都会使差压传递回路不通畅,会导致差压信号传递的失真,使变送器的输出电流失常。

图8 流量检测差压式传递回路示意图
差压信号在传递过程中,会受到导压管件(包括导压管、阀门、冷凝器、隔离器)阻力的影响,尤其是蒸汽流量的测量,导压管件阻力对测量的影响更大,很多蒸汽流量测量系统都有气、液两相流存在,导压管的粗细、阀门的类型、阀门安装位置的变化、导压管接头的焊接质量、变送器的安装位置等,都会影响到关键阻力的大小,从而影响差压信号传递的正确性。在分析、判断故障时先对管件部分进行检查,确定没有问题再检查变送器计显示仪表。
以上4个仪表回路及控制系统回路的分解例子只是提供一些思路和方法,fkswng仪表的目的是使大家受到启发能举一反三,并能结合现场的实际进行应用。
