热电偶是工业上最常用的温度检测元件之一。热电偶测温的基本原理:将两种不同材料的导体或半导体A和B焊接起来,构成一个闭合回路。当导体A和B的两个执着点之间存在温差时,两者之间便产生电动势,因而在回路中形成一个电流,这种现象称为热电效应。热电偶就是利用这一效应工作的。
玻璃熔窑炉顶(Melter Crown)测得熔制温度高达1540-1570℃左右,此温度它关系到玻璃液的质量与出料量。因此窑炉的温度自动控制均以炉顶温度为准。它采用的热电偶分度号为B型。现就此点的温度测量与控制赵民生工程师谈谈使用fkswng热电偶的体会。
热电偶在玻璃工业中得到广泛应用,如用在玻璃熔窑熔化池的窑顶、熔化池的底部、流液洞的侧部、前脸墙、工作池的顶部、料道顶部、蓄热室的顶部/上部/中部/底部及烟囱等。玻璃熔窑热电偶典型安装位置见图1。炉顶温度测点一般在喷枪处向前2/3处或者是在更前处,此点是玻璃熔窑的热点,同时马蹄型窑炉其交换左右火焰均在此位置转向,对交换后火焰的影响也较小。此点的温度反应较快、灵敏度高基本能代表玻璃熔窑内的温度情况。

图1 玻璃熔窑热电偶的位置分布

表1 典型玻璃熔窑使用热电偶的部位及数量
1、玻璃熔窑炉顶热电偶的安装注意事项及应用
由于玻璃熔窑内的温度高,粉尘多以及化学腐蚀性强,因此正确地安装熔化池炉顶上的热电偶,准确地测温以及延长热电偶的寿命是十分重要的。有经验证明热电偶过早损坏等,其很大原因是由于不适宜的安装所致。有时甚至会影响到炉顶的寿命。以下几点体会供玻璃工业同行参考:
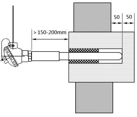
①插入玻璃熔窑顶部的热电偶,插入窑内深度不能超过窑顶内表面的50.8mm,如热电偶插入过深,就会被火焰冲刷与料粉腐蚀,其热电偶的寿命会大大缩短。见图2

图2 玻璃窑炉炉顶热电偶伸出窑炉内小于50.8毫米
同时插入热电偶的孔与热电偶刚玉管之间的空隙,必须要用玻璃棉、玻璃纤维等填充物将此空隙堵严,以防产生“烟囱效应”(Chimney Effect),使火焰从空隙处冲出烧毁热电偶与补偿导线等。
②玻璃熔窑炉顶热电偶必须要有足够的长度,热电偶接线盒距窑顶表面长度要大于150-250毫米(见图2)。如接线盒处的温度过高,其测量的温度将会产生较大的误差,甚至烧毁接线盒。
③玻璃窑炉炉顶测温的热电偶砖如采用的是盲孔,为了提高该温度灵敏度,可将该测温砖多插入窑顶一些,使热电偶的测点基本与窑顶内壁平口或者再多插一点(如图3)。

图3 插入盲孔测温砖的玻璃窑炉炉顶热电偶安插要点
盲孔测温砖,其盲孔测温的修正值有以下的经验:测出的温度一般比正常测玻璃液温度约低50℃,如盲孔测出温度为1510℃,推算出其窑内的火焰温度为1560℃。此点为笔者的体会,望各位在工作中验证。同时其盲孔的热电偶瓷管的空隙,也要用玻璃棉与纤维等填充物将此空隙堵严。以防砖有小裂纹而产生的“烟囱效应”,最终会使火焰窜出。
另外在现场处理盲孔砖有经验证明,在建炉过程中由于各项工作交叉进行,难免有一些疏忽。在盲孔测温孔里现场我们常发现有螺丝、螺帽、小砖块等掉落盲孔内。窑炉点火升温后处理起来十分麻烦。提醒同行注意。在建炉时可用纸张与木块等物将其先塞住。点火升温需插热电偶时,取下堵孔的纸等即可安装热电偶。
玻璃熔窑炉顶测温的热电偶砖要使用整块的专用砖,图五为炉顶测温的通孔专用砖。其材质必须要与炉顶砖材一致。具体如图4:

图4 玻璃窑炉炉顶热电偶的专用砖
有不少玻璃工厂采用在炉顶随意留一孔或者现场钻一孔,结果随着窑炉数年燃烧后造成了火焰的窜出,使得该热电偶四周炉顶砖侵蚀松动或窜火,严重影响到热电偶甚至玻璃熔窑炉顶的寿命,其代价是很大的。望引起同行们的注意。
⑥窑顶的热电偶必须要使用三角架或者法兰盘支撑,它们必须要坚固稳定可靠有效。不能有倾斜和高低不平不稳等现象,见图2。
2、熔窑底部测温热电偶注意事项及解决办法
熔窑底部测温热电偶,特别在电助熔的池窑底部测温热电偶在安装时(见图5)应注意以下事项:

图5 玻璃熔窑底部测温热电偶安装
②要注意热电偶干扰问题,一般在安装时保证热电偶与钢结构的绝缘!
③该部位测温热电偶的补偿导线不能与其电力线排在一起,以免强电干扰。
③在池窑底安装热电偶,需注意不能用螺丝固定死,应是可移动的,以免熔窑升温后,砖结构膨胀,将热电偶刚玉管损坏。
3、玻璃熔窑流液洞测温热电偶安装
在测流液洞的温度时,为了安全一般测其侧部温度,而且均是盲孔测温,其盲孔测温的修正值如上所述,该测点的温度值较为重要,能指导安全生产的过程,见图6

图6 流液洞测温热电偶安装
4、玻璃熔窑蓄热室温度测量
在测蓄热室上部、中部、下部温度时,热电偶智能水平插入,此时要注意,因为没有一支热电偶经数小时高温后,还能支撑其本身重量而不使其保护管弯曲和断裂的,所以在插入时,要注意将热电偶搁在格子砖上,因此该热电偶必须有足够的长度。
5、玻璃熔窑供料道测温热电偶安装
现代制瓶机越来越快,它向着高机速、多料滴、轻量化的方向发展。因此料道温度必须有精确的控制及良好的均化。有资料介绍:当料道温度变化±1℃,料温变化高达3%。因此测量和控制料道温度十分重要。在料道上一般采用三点式热电偶,在料道的中部、左、右两侧均有三点式热电偶,共9点,以正确、全面地反映料道内的温度情况(见图7)。料道测温热电偶是采用铂材料的外护管或波材料的涂层,以延长其使用寿命,同时可减少其对玻璃的污染。

图7 玻璃窑炉供料道测温热电偶安装
6、热电偶断偶以及断偶后的应对措施
热电偶是易耗品,它的老化主要是由于铑从一根电线迁移到另一根,这取决于温度及其气氛,因此老化的影响是不能定量的。它的损坏有其突然性与随机性。窑顶控制点的热电偶,一旦断线、断偶,其输入为0mV,这时自动控制仪表自动输出为最大值,这将会导致某些事故的发生。此时必须要有限幅装置,将燃油的流量(天然气的流量)或者电加热功率等要加以限制并发出报警信号,以免发生超温损坏窑炉等现象。
现在大型窑炉对窑炉温度自动控制与监视是十分重视的,当热电偶损坏后,我们不但要有一系列的自动措施,而当人工干预时也要有该点的温度显示。图8就是在炉顶同一点上钻二个孔,一通孔一盲孔,分别插热电偶以解决此问题:

图 8 窑炉顶上同一点上通孔与盲孔的专用砖
其中一个通孔其热电偶的信号是作为自动控制窑炉温度的。另一盲孔作为温度显示的,一旦通孔内的热电偶烧坏,窑炉操作人员立即将自动控制切换到手动,以此盲孔的温度值作为显示手动调节以维持生产。
7、热电偶定期调换
窑顶的作为控制点的热电偶一般半年左右要定期调换下来,以免正常工作中烧坏烧断,影响玻璃熔窑的正常工作。调换新热电偶时,要完全杜绝热电偶瞬间插入穿孔内,以防热电偶外管冷热聚变使其爆裂,根据经验该铂铑热电偶插入的速度要保持在每小时30-40毫米。每次定期调换好后,必须要做好记录:调换的日期、热电偶型号、热电偶长度、安装部位、调换者的姓名以及下次调换的日期等参数。为下次调换者一目了然,以免错过。这在当代电脑普及时代仅是举手之劳,但其效果不可小视。
8、热电偶使用中的注意点
玻璃熔窑是在高温连续生产的工况下工作的,要如何保持热电偶长期正常工作,保证玻璃熔窑的正常运行,有几点体会与同行讨论:
①热电偶在接线时,要采用正确的补偿导线,如果不采用补偿导线或者错用补偿导线,那将会产生较大的测温误差(建议阅读《正确使用热电偶补偿导线案例分析》技术文章)。
②要注意没有一个窑炉的燃烧其温度与工况是完全一样的。一般的支架是不能精确定位的,水平方向的变动与垂直方向的变动,其温度必然会变化。因此窑炉操作人员必须要根据本窑炉出料情况与玻璃液的质量,定出各自玻璃熔窑控制温度值,甚至在每次调换该点热电偶后,也要修正好该点的窑炉温度数值,以保证玻璃液的质量。
③我国一些地区有些玻璃工厂目前还较普遍地使用辐射高温计来测量玻璃熔窑的火焰温度,虽然它测温反应速度快寿命长。但是它测出的温度不稳定,温度误差也较大。对习惯于使用辐射高温计的工厂,笔者建议可先安装一炉顶盲孔热电偶,将盲孔热电偶的测量温度数值与辐射高温计测量的数值参考对比来控制玻璃窑炉。以后逐步过渡到以热电偶数据为主控制玻璃熔窑。
④由于热电偶长期在高温下工作,热电偶偶丝会老化温度漂移以及导线接线端子的松动造成电阻值的变化等原因,其测量数值有时会有一定的误差。因此玻璃熔窑操作工除了在控制室内观看仪表外,还须定时要到玻璃熔窑现场观看窑炉的燃烧情况并用手提仪器测量窑炉内的温度。有一位窑炉专家说得好:任何仪器仪表都比不上操作工人的眼睛,它是最真实的。这话说得中肯。
玻璃熔窑炉顶热电偶是玻璃窑炉的重要测温元件,其测温的稳定性和准确性对提高玻璃液的质量是非常重要的。不论是仪表控制炉温还是计算机控制。准确可靠地测量出炉内温度这是第一位的。据法国一专业热电偶生产公司介绍,他们专门为玻璃熔窑炉顶设计出一款长寿命高精度的玻璃熔窑炉顶热电偶,其精度一年内在1580℃高温下它的温度漂移<3℃(No drift)。由此可见国内国外专业人士对玻璃熔窑炉顶热电偶的重视,您可到 //www.fkswng.com/product/118.html 详细了解这种热电偶。
作者:赵民生,我国玻璃委员会技术专家,在玻璃窑炉测温方面有丰富的经验
