LD301是SMAR公司研制的基地式仪表,它是一种测量差压、绝压、表压、液位和流量的智能电动基地式仪表。fkswng仪表在本文从硬件和软件两个方面介绍SMAR电动基地式仪表LD301的构成原理。
1、基地式仪表LD301硬件构成原理
基地式仪表LD301由传感器和主电路板组成,其组成方框图如图1所示,传感器采用电容传感器作为压力敏感元件。图1中,PH、PL为被测差压。

图1 基地式仪表LD301硬件组成方框图
①电子转换器
基地式仪表LD301有两个电子转换器,一个是将电容转换为频率(或数字信号),而电容是被测差压的函数;另一个是将静压(被测介质的工作压力)转换为数字信号。
②温度转换器
温度转换器将传感器工作温度转换为数字信号,进行工作温度变化的补偿,以提高测量精度。
③中央处理单元
中央处理单元是基地式仪表LD301的智能核心,担负着测量范围调整、功能设定、比例积分微分控制、输出控制、模拟传输和HART通信等任务。
④HART调制解调器
HART调制解调器负责在主设备和从设备之间进行数据交换。变送器从供电电流中解调信息,并把回应信息调制在电流上。
⑤数字协处理器
⑥显示控制器
显示控制器接收CPU的数据并使液晶显示器的相应字段变亮,同时,控制器驱动背景光和字段的控制信号。
⑦本机零点/量程调整
基地式仪表LD301上有两个用于调整的开关,利用磁性激活。该磁性工具无需通过机械的或电气的接触即可激活开关。
2、基地式仪表LD301软件构成原理
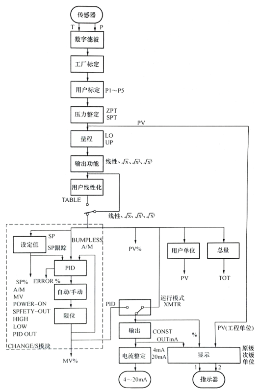
基地式仪表LD301软件构成方框图如图2所示。

图1 基地式仪表LD301软件组成方框图
①数字滤波
为了使传感器输出信号平滑,设置了一个时间常数可调的低通滤波器。低通滤波器的时间常数即对应于l00%的阶跃压力(或差压)输入而输出达到63.2%所需时间。
②工厂标定
基地式仪表在出厂前,对敏感部件随压力和温度变化的特性进行了标定,并将标定的特性存储在敏感部件里的EEPROM中。
③用户标定
用5个特性调整点P1-P5对基地式仪表LD301的原始特性进行修正。
④压力整定
压力整定即通过零点压力和上限压力调整,来校正基地式仪表LD301的零点和上限长期漂移或改变以及安装或超压所带来的读数误差。
⑤量程
基地式仪表LD301作为变送器使用时,应使压力值与输出电流相对应,即下限压力值对应于4mA,上限压力值对应于20mA;基地式仪表作为控制器(PID方式)使用时,应使压力值与输出的百分数值相对应,即下限压力值对应于0,上限压力值对应于100%。过程变量的工程单位在UNIT中选择。
⑥功能
功能取决于应用按照压力应用变送器方式时的输出和控制器PV具有线性(用于压力、差压或液位的测量)、平方根(用于产生差压的流量测量)、三次或五次幂的平方根(用于堰式或敞口水渠式的流量测量)等特性。功能用FUNCTION选择。
⑦用户线性化
基地式仪表LD301输出(4-20mA过程变量)对输入(应用压力)按照2-16点列表,输出由这些点按插值法计算。在TABLE POINTS功能中,这些点以Xi范围的百分数和输出Yi的百分数给出,它可用来线性化。例如,通过液位测量来计算体积或质量,在流量测量中对雷诺数的改变进行修正。
⑧设定值
设定位可以在手持终端的主菜单或称程序树的INDIC中调整。当基地式仪表作为控制器使用时,设定位SP可以设定为跟踪过程变量PV的状态,以便使从手动到自动实现无扰切换。这个程序块在SP跟踪中起作用。
⑨PID
首先根据控制器在ACTION组态中的作用(正或反)计算SP-PV或PV-SP,然后计算控制变量(或操作变量)MV。
⑩自动/手动
自动/手动方式选择在INDIC中进行,手动状态的输出变量MV由用户调整。MV必须在上、下限值(由用户调整)之间;POWER-ON被用来决定在电源开关合上时的控制器方式,即确定是否在手动状态。
⑪限位
对基地式仪表LD301输出的控制变量MV设定最高值与最低值,使其在任何情况下都不会超过设定值此外,还可对输出控制变量的变化率(%/s)进行限制,使其不超过设定值。
⑫输出
这个程序块是用来选择基地式仪表LD301输出电流4-20mA是与过程变量相对应,还是与控制变量相对应,这取决于在0P-MODE中的组态。这个程序块还含有输出常量(CONST)电流的功能。有了这个功能不仅可以为控制系统正确检查二次仪表提供调校手段,还可以为控制系统的开环调试带来方便。输出电流实际上被限制为3.9-21mA。
⑬电流调整
4mA调整和20mA调整用来使基地式仪表LD301输出电流遵守电流标准,以免偏差出现。
⑭用户单位
过程变量由0%-100%的改变可用工程单位读出并为显示和通信所利用。例如,可以从液位或差压的各自测量中得到一个体积或流量指示,也可选择合适的单位。
⑮总量
重新置位后,基地式仪表LD301可根据液位来累加计算流体的总量,这样可获得被传输流体的体积和质量。
(16)显示
在基地式仪表LD301的DISPLAY中可组态成两个示值间交替显示的方式。
相关阅读
电动基地式仪表和气动基地式仪表的比较
