朱红霞和沈兴全工程师在《金属切削温度测量方法的研究》文中综述了金属切削加工技术中切削温度的测量方法,并对几种新颖钻削温度测试方法进行概述。分别指出了各类温度测定方法的适用场合及优缺点,对金属切削温度测量方法的发展趋势做了分析。为金属切削加工质量、刀具寿命提供了研究依据。

1、切削加工中切削温度测定方法
①自然热电偶法和人工热电偶法
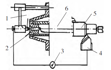
目前切削温度测量方法应用广泛,成熟可靠的是自然热电偶法和人工热电偶法。图1所示为自然热电偶测温简易装置,作为自然热电偶两极的刀具、工件必须是具有不同化学成分的材质,刀具、工件、显示仪表相连便组成了一个简单的闭合电路。毫伏计两端各接有分别来自工件、刀具引出端导线,切削加工时,切削区温度上升,切削区的刀具工件就相当于一个热端,毫伏计接连处相当于一个冷端(室温),冷热端之间因为温差必然导致热电势,在该闭合电路里冷热端形成的回路中的电动势在毫伏表记录下来,温度值可从相对应的温度与毫伏值标定获知。。采用自然热电偶法仅限于获取平均切削温度,它不能够测量某一具体点温度,而且针对不同刀具或工件材料,需要重新对温度-毫伏值曲线进行标定。自然热电偶测温方法主要应用于车削加工。

图1 自然热电偶法测量切削温度示意图
1、钢顶尖;2、铜销;3、毫伏计;4、车刀;5、工件;6、车床主轴尾部
人工热电偶法(见图2)解决了自然热电偶法只能测切削区平均温度这一限制,其能够测得切削区刀、屑、工件某一具体点的温度。人工热电偶是由2种绝缘的金属丝构成的,而且金属丝事先已进行标定,金属丝焊接于刀具或工件的测温点上或埋进测温点开的小孔内(小孔会影响刀具里热流及温度分布,甚至减弱刀具强度,所以孔的直径在满足要求的情况下应尽可能的小),形成热端。冷端通过导线串联毫伏计,与自然热电偶法同理,冷热端之间因为温差导致热电势,根据记录的毫伏值和标定曲线得到热端温度。该法不用反复标定特定电偶材料,且电偶材质更换方便,但是对于高硬度材质的刀具,开孔后埋入金属丝的操作过程困难,致使该法应用推广受到限制。

a测刀具/b测工件
图2 人工热电偶法测量切削温度示意图
1、工件;2、刀具;3、毫伏计
新型薄膜热电偶法采用真空蒸镀,将热电偶材料沉积在绝缘基板上形成的。热电偶的材料虽然很多,但是必须保证工程技术可靠性、测量精确度。应满足的要求:不同材料组成的热电偶能够输出较大电动势;热电特性、物理性质、化学性质稳定;高导电率、低电阻温度系数;较好的工艺性,以便成批生产。薄膜热电偶采用的电极材料在500~1800℃时可用镍铬-镍硅、铂铑-铂等。薄膜热电偶可达到微米级(0.01~0.1μm)。其热容量小,响应速度快,可用来测瞬变的表面温度和微小面积上的温度。大连理工大学的孙宝元教授等采用先进的磁控溅射和离子镀技术,解决了绝缘、镀膜牢固性问题。在刀具头(见图3)内部溅射二氧化硅绝缘膜并通过离子镀技术将镍铬膜和镍硅膜镀在刀具上,补偿导线采用与薄膜热电偶材料相同的2mm的镍铬、镍硅丝,在刀头下半部加工通孔引出至与室温一致处。由于热电偶测温接点位于刀尖,响应迅速,时间常数约为0.8ms。

图3 薄膜热电偶刀头结构示意图
1、热电偶膜;2、3、绝缘膜
③热电偶与软件相结合的温度测量系统
在切削温度测量中,钻削温度是比较难测得的,单纯采用热电偶法会有许多局限,测量不便利,误差较大。采用软件与热电偶等硬件相结合的方法是钻削温度测量的新渠道。软件采用LABVIEW虚拟仪器技术实现,利用LABVIEW软件模块化、层次化软件结构,建立钻削温度测试信号的界面系统。硬件部分由计算机、数据采集卡、放大电路和电耦回路组成(见图4)。系统以半人工热电偶作为传感器,获取信号后由数据采集卡送入计算机,在虚拟仪器界面获取钻削温度相关数据或所需图形。

图4 钻削温度测试系统简图
1、虎钳;2、垫块;3、工件;4、钻头;5、卡具;6、主轴;7、计算机;8、康铜丝;9、放大电路;10、采集卡;11、工作台
④红外热像仪法红外热像仪法
原理可用公式表示为辐射单元单位面积的辐射能量E,即 E=εσT4,公式中ε为物体辐射单元表面辐射率;σ为斯蒂芬-波尔兹曼常数;T为辐射单元的表面温度。
该方法借助光机扫描器侦测加工面辐射出来的能量,电子信号由各辐射单元辐射能所转换而成,处理后的信号最终可以以不同方式显示出物体温度图像。如果ε是已知的,由定律可得辐射面温度场分布情况。使用红外热像仪可非接触测量物体大面积温度分布,使用方便,但是其价格昂贵,且所测为相对温度,比实际加工中的切削温度值稍显滞后。
⑤增强CCD相机法
CCD即Charge Coupled Device,由半导体材料制作成,具有高感光度,其成像原理是将拍摄到的光线转换为电荷,电荷再经过模数转换器芯片转变成数字信号,压缩处理数字信号上传至电脑中,最终得到所采集图像。增强CCD相机曝光时间很短,干扰滤光片0.8μm,在可见光谱范围内,对切削区进行拍摄,便可获得切削加工过程中切削温度场的表征图像,切削温度分布情况依据标定的“温度-相机亮度水平”来确定。因为增强CCD相机测温方法是一种光学测温法,所以测量切削温度时可避免接触加工刀具工件,其拍摄响应时间比较短,有很高的分辨率,制约条件是光学辐射波长。虽然该方法测温具有许多优势,但是对于切削加工,动态切削区测温表面的不恒定性导致辐射系数也是不稳定的,辐射系数会受试件相变、刀具工件表面温度等众多因素的影响,最终成像与实际情况有一定差异。图5为增强CCD相机法测温装置示意。

图5 增强CCD相机法测温装置示意图
1、增强CCD相机;2、分束镜;3、滤光镜;4、透镜;5、氢氖激光器;6、试件;7、发射管;8、投射体;9、切屑;10、密封黑箱;11、刀片;12、刀夹体;13、传递管
⑥一种适于钻削的红外测温法
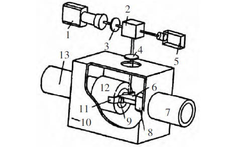
红外测温法是辐射式测温的一种,利用物体的热辐射现象来测量物体温度。红外测温仪主要包括光学系统、光电探测器、信号放大器及信号处理、显示输出等部分。在钻削加工中,针对筒壁内表面温度难以直接测得的情况,采用响应速度快、灵敏度高、体积小的红外传感器对钻削温度进行间接测试的方法。无论密封与非密封状态,被测物体内部温度场会随着所处环境温度场的变化而变化,其间存在着某一对应关系。根据传热学理论,如果被测介质随环境温度的变化关系是已知的,通过测定被测体外表面的温度,所需点的温度便可间接获得。图6为一种对药筒进行钻削试验的红外测温装置示意图,试验中使用不同的切削参数对上下表面进行同步测温。试验中事先在筒内的一端开一小口将红外传感器装入筒壁内以测量内壁温度。

图6 一种钻削试验红外测温装置示意图
1、步进电机;2、蜗轮蜗杆减速机;3、主轴;4、钻头;5、红外传感器
⑦有限元模拟仿真计算
在某些切削加工环境恶劣,直接测量温度条件复杂的情况下,一些大型通用有限元分析软件对于研究分析切削温度起着十分重要的作用,如ALGOR、ABAQUS、MSC.MARC、DEFORM、ADVANTEDGEFEM等软件设置有热传导分析功能,支持瞬态传热分析、非线性传热分析,可以对切削加工工件或刀具温度场进行模拟仿真。其基本原理是对连续体进行近似计算的一种数值方法,通过导入物体,并对其进行网格划分,定义材料属性、边界条件、初始条件、几何特性等相关设定后,利用计算机计算,得到所需的温度场数据、图像,以非实验手段直观了解切削过程中温度变化规律。
2、其他测温方法
除上述测温方法外,还有金相结构法、光纤红外测温法、定熔点粉末法、双色高温计法、pbs法、硅光电池法等。金相结构法是对比切削前后刀具或者工件显微组织变化来研究切削温度的改变,此方法比较繁琐,工作量大,仅适于金属材质。光纤红外测温是非接触测量,光纤红外测温仪体积小,廉价且易安装,应用场合广泛。定熔点粉末法在切削区放置金属细粉末,这些粉末熔点是确定的,当切削时,上升温度会使达到熔点的金属粉末熔化,通过观察金属细粉末熔化情况考察切削区温度。双色高温计法利用2种不同波长下所测体光谱辐射亮度比值,即温度的单值函数来测量。pbs法用pbs作为感光半导体,其与双色高温计法均属于辐射测温法。硅光电池法以光生伏特型红外探测器为基础,其可测高速运动物体的小面积的表面温度。
3、结语
基于切削温度对切削加工的重要影响,研究实用的切削温度测量技术是很有必要的。通过文中各种测温方法的综述得知,热电偶法测温虽然直接但是前期准备工作繁琐,重复使用效率低。新型薄膜热电偶法采用先进的磁控溅射和离子镀技术,解决了绝缘、镀膜牢固性问题,可快捷测得刀部温度。红外热像仪法价格比较昂贵且现场不便于安装。而红外测温法体积小便于安装使用,可应用于某些钻削场合。有限元软件及其他计算机软件对切削加工温度的测量也体现了计算机数值计算的优势,在有限的条件下将试验硬件与计算机软件结合使用,不仅对切削温度测试提供了极大便利,也符合未来研究发展趋势。由于各类型切削温度测量方法优缺点各异,应用范围也不尽相同,为实现更高精度、动态测量,要根据具体切削加工试验、特殊加工条件对所需测温方法进行深入改善和研究。如若能研制出某种耐高温、耐磨损的高性能温度传感器,将其嵌入或安装于刀具切削区适当的部位,再与计算机及相关软件器材组合,形成一个完整的测温体系,就可以便捷地测得所需动态瞬时温度,并直观查看。当然,该测温体系的实现还需要专业人员进行长期深入的研究。
相关阅读
◆常用温度测量方法
