1、工业热电阻的基本参数
①分度号与标称电阻值工业铂热电阻、铜热电阻在0℃的标称电阻值及分度号如表1-7所示:
表1 热电阻的标称电阻值及分度号

注:
1.表中|t|是以摄氏度表示的温度的绝对值;
3.对R0=100Ω的铂热电阻,A级允许偏差不适用于t>650℃的温度范围;
4.二线制热电阻偏差的检定,包括内引线的电阻值,对具有多支感温元件的二线制热电阻,如要求只对感温元件进行偏差检定,则制造厂必须提供内引线的电阻值。
②温度测量范围及允许偏差
所谓允许偏差,即热电阻实际的电阻与温度关系偏离分度表的允许范围。工业铂、铜热电阻的温度测量范围及以温度表示的允许偏差Et,如表1-7。
③工业热电阻的电阻值和电阻比的误差热电阻在100℃及0℃的电阻比W100,对标称电阻比W100的允许误差△W100,如表2所示。
表2 工业热电阻的电阻值和电阻比的误差

④热响应时间当温度发生阶跃变化时,热电阻的电阻值变化至相当于该阶跃变化的某个规定百分比所需要的时间,称热响应时间。
⑤额定电流
为了减少热电阻自热效应引起的误差,对热电阻元件都规定了额定电流。额定电流是指在测量电阻时,允许在某元件中连续通过的最大电流,一般为2-5mA。
热电阻检定装置是用来检定热电阻体的标准仪器及配套设备的总称。热电阻基本参数中的前三项,是热电阻检定工作中要完成的项目。
2、工业热电阻检定装置
热电阻检定装置选用的计量标准器及配套设备:
①二等标准铂电阻温度计
二等标准铂电阻温度计WZPB-2的主要技术要求笔者建议读者到标准铂电阻生产厂家产品页面//www.fkswng.com/product/106.html了解,在本文不做详细介绍。
②二等标准水银温度计(国家最新标准已不再区分一等和二等标准水银温度计,统称标准水银温度计)检铜电阻时做标准使用。
热电阻检定装置配套设备:
①0.02级直流电位差计或测温电桥及配套装置
采用直流电位差计测量电阻时,还需配有0.01级的标准电阻,其阻值为10Ω和100Ω各一个,直流毫安表,低电势多点转换开关以及直流电源,其稳定度不得低于5×10-6A/h。
如果用测温电桥测量电阻时,只需配有低电势四点转换开关,用于引线换向,消除引线电阻。
②冰点槽
冰点槽用来测定热电阻在0℃时的电阻值和冻制水三相点瓶时用,其高为600mm,内径大于250mm。
③金属水沸点炉或恒温油槽
用来测定热电阻在100℃时的电阻值。
炉的基本结构是在炉子的圆筒内装有一定量的蒸馏水,炉子下部用加热器,沸腾的蒸馏水面上是饱和蒸汽。温度计插管焊接在炉子的顶盖上,悬挂在饱和蒸汽中即可反映出水的沸点温度。
④恒温油槽
恒温油槽内部采用不锈钢板制成,并采用磁力搅拌器装于槽体下部,用精密PID控制器控温,具有控温精度高、温场均匀、加热速度快等特点。
水沸点槽各插孔之间的最大温差不大于0.01℃。恒温油槽工作区域(盖板下100-135omm)的垂直温差不大于0.02℃,水平温差不大于0.01℃。
主要技术指标与检定方法:
①外观检查
主要检查装配质量,包括各部件是否完好无缺,装配是否牢固,各种标志是否齐全,特别是绝缘性能是否符合要求(铂电阻的绝缘电阻不大于100MΩ,铜电阻不小于20MΩ,可用兆欧表进行测定。
②示值检查
热电阻实际电阻值对分度表标称电阻值以温度表示的允许偏差E和热电阻在100℃和0它的电阻比W100。对标称电阻比W100的允许偏差△W100,见表1与表2。
③检定方法
热电阻检定只需测定其0℃和100℃时的电阻值。这种电阻值可采用电位差计或电桥测定。其检定方法采用比较法,即将标准温度计与被检温度计同时放人冰点槽或油温恒槽内进行比较。
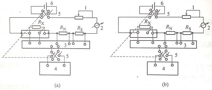
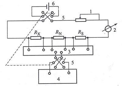
检定二线制感温元件时,应在感温元件毎根引线接出两根导线,然后按图1接线。
说明:1为电阻箱;2为毫安表;3为多点转换开关;4为电位差计;5为电流反向开关;6为直流稳压电源;RN为标准电阻;RS为二等标准铂电阻温度计WZPB-2;RX为被检电阻。
④三线制热电阻
由于使用时不包括引线电阻,因此在检定电阻值时需采用两次测量方法,以便消除引线电阻的影响。图2为用补偿法测定三线制感温元件电阻接线图。
说明:1为电阻箱;2为毫安表;3为多点转换开关;4为电位差计;5为电流反向开关;6为直流稳压电源;RN为标准电阻;RS为二等标准铂电阻温度计WZPB-2;RX为被检电阻。
第一次如图1-25(a)所示,包括一根引线电阻。第二次如图1-25(b)所示,包括两根引线电阻。用第一次测量结果的两倍减去第二次测量结果的数值,即为感温元件实际电阻值。热电阻的检定周期一般不超过一年。
